back to
>
Roth / TORO
>
Hand operated
>
Lawnmower
>
2-stroke SP
>
237/22036
>
0000001
>
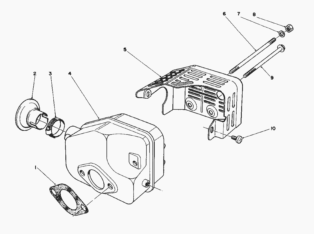
Muffler Assy. (Model No. 47PK9-3)
Spare Parts Lists for Toro Roth / TORO Muffler Assy. (Model No. 47PK9-3)
pos.
decription
spare part number
1
DICHTUNG
81-1080
2
81-0200
3
4
AUSPUFF
81-5690
5
SCHUTZGITTER
81-2450
6
STEHBOLZEN
81-1100
7
FEDERRING
81-1120
8
SECHSKANTMUTTER
81-1110
9
SCHRAUBE
81-1150
10
SCHRAUBE
81-1140
Lists
Toro
Roth / TORO
Ride-On Mowers
Hand operated
Sweeper
Snowthrower
Vac/Blower
Lawnmower
Grass Baggers
4-stroke SP
4-stroke
2-stroke SP
295/26643
295/26643 B
295/26640 BC
295/26640 B
287/20916B
277
255/22700 BC
255/22700
239
237/22045
237/22045 B
237/22044 BC
237/22036
2000001
1000001
0000001
Carburetor Assy. (Model No. 47PK9-3)
Recoil Assy. (Model No. 47PK9-3)
Governor Assy. (Model No. 47PK9-3)
Ignition Assy. (Model No. 47PK9-3)
Muffler Assy. (Model No. 47PK9-3)
ShortBlock Assy. (Model No. 47PK9-3)
Side Discharge Chute Model No. 59110 (Optional)
Steel Grass Catcher (Model 22099)(Optional)
Bag Assy. No. 11-5609
Fuel Tank Assy.
Handle Assy.
Gearbox Assy. (Cont.)
Gearbox Assy.
Engine Assy.
Housing Assy. (Cont.)
Housing Assy.
237/22035
234
224
222/16212 WG
2-stroke
Electric
Battery
Robin
Terms and Conditions
(C) by motoruf