back to
AS-Motor
>
AS 46 Variomat
>
AS 46 B2/4T
>
Antriebsblock
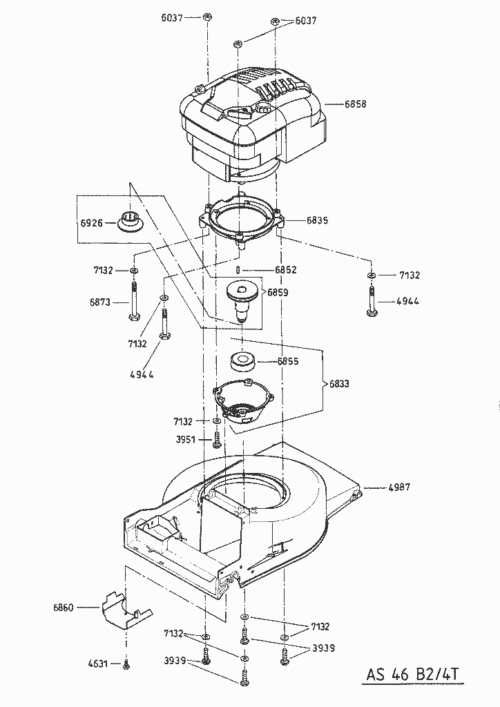
Spare Parts Lists for AS Motor AS 46 Variomat Antriebsblock
pos.
decription
spare part number
3939
SECHSKANTSCHRAUBE
E03939
3951
SECHSKANTSCHRAUBE
E03951
4531
EINSCHLAGDORN F. WDR 17X28X6
E04531
4944
Sechskantschraube
E04944
4987
MÄHERGEHÄUSE KOMPL.
E04987
6037
SICHERUNGSMUTTER
E06037
6833
Lagertopf mit Kugellager
E06833
6835
MOTORADAPTER AS 46 B2/4T
E06835
6852
PAßFEDER F.B&S INTEK
E06852
6855
RILLENKUGELLAGER
E06855
6858
Motor B&S INTEK (ohne Abtrieb)
E06858
6859
MESSERTRÄGER M.SCHLEUDERSCH.
E06859
6860
RIEMENABDECKUNG UNTEN 46B2/4T
E06860
6873
Sechskantschraube
E06873
6926
SCHLEUDERSCHEIBE
E06926
7132
SPERRKANTSCHEIBE
E07132
Lists
AS Motor
AS Batterierasenmäher
AS 45 Ausputzmäher
AS 46 Variomat
AS 46 B2
AS 46 B2/4T
Gehäuse
Antriebsblock
Holm
Riemen
Messer
AS 45 Universal
AS 53 Standard
AS 53 Allrad
AS 55 Heckauswurf
AS 550 Heckauswurf
AS Allmäher
AS Enduro
AS Schlegelmäher
AS Mulchmeister
AS Aufsitzmäher
Samix Gartenhäcksler
AS Wildkraut-Hex
Verschleissteile
Terms and Conditions
(C) by motoruf