back to
AS-Motor
>
AS Enduro
>
AS 22 Enduro
>
Holm
Spare Parts Lists for AS Motor AS Enduro Holm
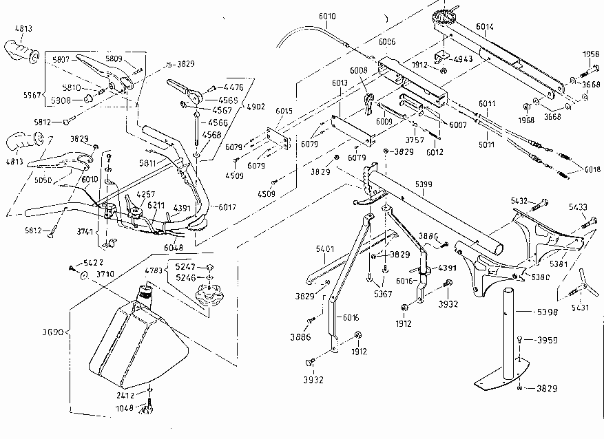
pos.
decription
spare part number
1048
BENZINHAHN+O-Ring+Stützscheibe
E01048
1912
SECHSKANTMUTTER
E01912
1958
SECHSKANTSCHRAUBE
E01958
1968
Sechskantmutter
E01968
2412
O-RING
E02412
3668
SCHEIBE
E03668
3690
KRAFTSTOFFTANK VOLLST.
E03690
3710
SCHEIBE
E03710
3741
ERSETZT DURCH E04496
E03741
3757
KABELHALTER
E03757
3829
SECHSKANTMUTTER
E03829
3886
SECHSKANTSCHRAUBE
E03886
3932
Sechskantschraube
E03932
3959
Sechskantschraube
E03959
4257
REGULIERHEBEL M SCHRAUBNIPPEL
E04257
4391
KABELBAND
E04391
4476
Bolzen
E04476
4509
GEW.FURCH.6KTSCHR.M.SCHEIBE
E04509
4565
Exzenterhebel vollst.
E04565
4566
AUGENSCHRAUBE
E04566
4567
Wellensicherung
E04567
4568
Tellerfeder
E04568
4783
TANKDECKEL VOLLST.
E04783
4813
Lenkergriff-ergon.(L+R=)
E04813
4902
LENKERSPANNHEBEL VOLLST.
E04902
4943
GRIFFHALTER
E04943
5246
DICHTSCHEIBE
E05246
5247
SECHSKANT-HUTMUTTER
E05247
5367
Flachrundschraube
E05367
5380
KNOTENBLECH RECHTS VOLLST.
E05380
5381
KNOTENBLECH LINKS
E05381
5398
HOLMSTÜTZE VOLLST.
E05398
5399
HOLMZWISCHENROHR VOLLST.
E05399
5401
QUERSTREBE
E05401
5422
GEW.FURCH.SECHSK.SCHRAUBE
E05422
5431
KNEBELSCHRAUBE M10X50
E05431
5432
6KT.SCHRAUBE
E05432
5433
SECHSKANTSCHRAUBE
E05433
5807
HANDHEBEL M. SCHR. E05953 (1x)
E05807
5808
KAPPE
E05808
5809
RASTBOLZEN
E05809
5810
DRUCKFEDER
E05810
5811
Zug f.Messerkupplung AS21AH9
E05811
5812
FLACHRUNDSCHRAUBE
E05812
5967
HANDHEBEL M. SCHR. E05953 (1x)
E05967
6006
SCHALTGEHÄUSE AS 22
E06006
6007
SCHALTSCHIEBER
E06007
6008
SCHALTHEBEL
E06008
6009
SCHALTSTANGE
E06009
6010
Kupplungszug
E06010
6011
Kupplungszug
E06011
6012
ZUGFEDER FÜR SCHALTSTANGE
E06012
6013
SCHALTGEHÄUSEDECKEL LANG
E06013
6014
HOLMGABELROHR VOLLST.
E06014
6015
SCHALTGEHÄUSEDECKEL KURZ
E06015
6016
STREBE
E06016
6017
Lenker kompl.
E06017
6018
ZUGFEDER
E06018
6048
GASZUG MIT SCHALTLITZE AS 22
E06048
6050
Handhebel m.Schr.E05953(1x)
E06050
6079
LINSEN-PT.-SCHRAUBE
E06079
6211
GASZUG
E06211
Lists
AS Motor
AS Batterierasenmäher
AS 45 Ausputzmäher
AS 46 Variomat
AS 45 Universal
AS 53 Standard
AS 53 Allrad
AS 55 Heckauswurf
AS 550 Heckauswurf
AS Allmäher
AS Enduro
AS 22 Enduro
Gehäuse
Antriebsachse
Antriebsblock
Grundmotor
Luftfilter / Starter
Messer
Holm
Vorderrad
Vergaser
HRB
AS 22/3 Enduro
AS 27/2 Enduro
AS 27/3 Enduro
AS 28 Enduro
AS 28/3 Enduro
AS 28/4 Enduro
AS 65 2T Enduro
AS 65 4T Enduro
AS 65 4TH Enduro
AS 73 vs Enduro
AS 73/2 vs Enduro
AS Schlegelmäher
AS Mulchmeister
AS Aufsitzmäher
Samix Gartenhäcksler
AS Wildkraut-Hex
Verschleissteile
Terms and Conditions
(C) by motoruf