back to
>
Roth / TORO
>
Ride-On Mowers
>
Traktor
>
270 H
>
506/72115
>
9900001
>
Battery Assy.
Spare Parts Lists for Toro Roth / TORO Battery Assy.
pos.
decription
spare part number
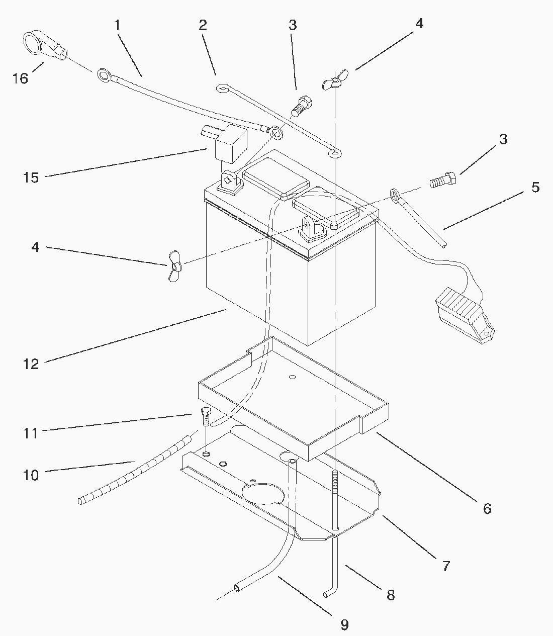
1
Cable-Battery Red (Only On: 72043, 72042, 72063, 72062)
92-6989
2
Hold-Down-Battery
117316
3
Capscrew
321-4
4
Nut-Wing
32103-22
5
Cable-Battery Black (Only On: 72103, 72083)
93-0324
6
Tray-Battery
106948
7
Plate-Battery
78-6820-03
8
Hook
109547
9
Tube-Drain, Battery
114720
10
Harness-Wire, 269h
99-8071
11
Screw-Wash. Hd., Tap.
32144-14
12
Battery
115877
15
Boot-Battery Terminal
28-8080
16
Boot-Terminal Insulator (Only On: 72103, 72083)
93-3190
Lists
Toro
Roth / TORO
Ride-On Mowers
Traktor
264-6
246 HE
244-5
212-H
212-5
17-44 HXLE
16-44 HXL
16-38 HXL
16-38 XLE
15-44 HXL
15-38 HXL
14-38 HXL
14-38 XL
13-38 HXL
13-38 XL
13-32 XLE
12-38 HXL
12-38 XL
12-32 XL
264 H
265 H
267 H
268 H
270 H
506/72110
506/72115
9900001
Hood & Grill Assy.
Hydro Drive Components
Front Axle Assy.
Twin Cyl. Engine, Muffler, & PTO Assy.
Battery Assy.
Fuel Tank & Hydro Reservoir Assy.
Lower Steering Assy.
Steering Wheel & Tile Assy.
Hoodstand & Firewall Assy.
Lift Lever & H.O.C. Assy.
Hydro Brake Assy.
Hydro Controls Assy.
Frame Assy.
Hydro Transaxle Assy.
Fender & Footrests Assy.
Seat Assy.
Dash Assy.
Rear Wheel Assy.
Cruise Control Assy.
Power Lift Assy.
Transaxle Case
Center Case
Pump Shaft
EngineShaft
Range Shift
Bypass Return
Lever Damper
N-Centering
Brake Interlock
Differential Gear
Final Pinion
Axle Shaft
Brake
Crankshaft
Crankcase
Oil Pan / Lubrication
Head / Valve / Breather
Ignition / Electrical
Blower Housing & Baffles
Start System
Fuel System
Engine Controls
Air Intake / Filtration
Exhaust
Pump Assy.
520 xi
520 Lxi
523 Dxi
Rider
Mower decks
Attachements
Hand operated
Robin
Terms and Conditions
(C) by motoruf