back to
>
Roth / TORO
>
Hand operated
>
Lawnmower
>
2-stroke SP
>
295/26640 BC
>
5900001
>
Brake Assy.
Spare Parts Lists for Toro Roth / TORO Brake Assy.
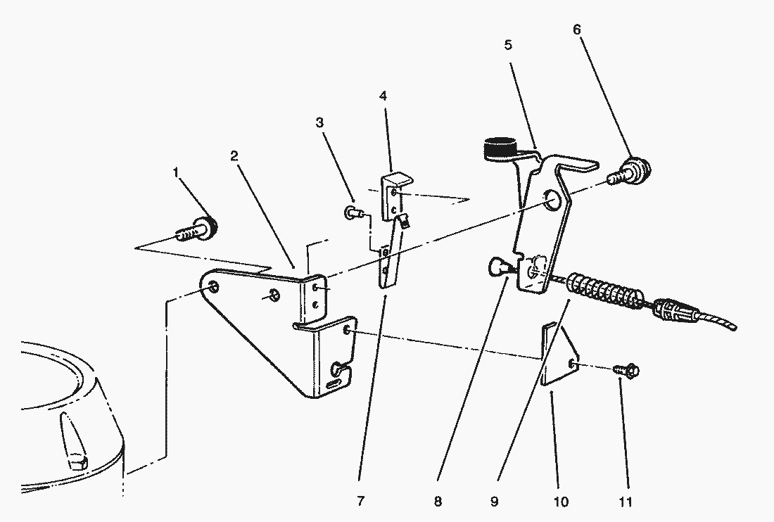
pos.
decription
spare part number
1
Screw Thread Forming
32144-10
2
Plate-Mounting
84-7820
3
NIETE
3290-459
4
ISOLIERSTUECK
77-5260
5
HALTEPLATTE KPL.
66-5380
6
SCHRAUBE
92-9698
7
FEDERBLECH
60-9010
8
Cable-Brake
93-7027
9
FEDER
66-5370
10
ABDECKUNG
53-4690
11
Screw-Self Tapping
32144-112
PLATTE
14-6009
Lists
Toro
Roth / TORO
Ride-On Mowers
Hand operated
Sweeper
Snowthrower
Vac/Blower
Lawnmower
Grass Baggers
4-stroke SP
4-stroke
2-stroke SP
295/26643
295/26643 B
295/26640 BC
5900001
Muffler Assy. (Model No. 47PR4-6)
Carburetor Assy. (Model No. 47PR4-6)
Governor Assy. (Model No. 47PR4-6)
Recoil Assy. (Model No. 47PR4-6)
Ignition Assy. (Model No. 47PR4-6)
ShortBlock Assy. (Model No. 47PR4-6)
Bag Assy.
Traction Control Assy.
Handle Assy.
Gearbox Assy. (Cont.)
Gearbox Assy.
Blade Assy.
Brake Assy.
Engine Assy.
Housing Assy.
295/26640 B
287/20916B
277
255/22700 BC
255/22700
239
237/22045
237/22045 B
237/22044 BC
237/22036
237/22035
234
224
222/16212 WG
2-stroke
Electric
Battery
Robin
Terms and Conditions
(C) by motoruf