back to
>
Roth / TORO
>
Hand operated
>
Lawnmower
>
2-stroke SP
>
224
>
350000
>
Gearbox
Spare Parts Lists for Toro Roth / TORO Gearbox
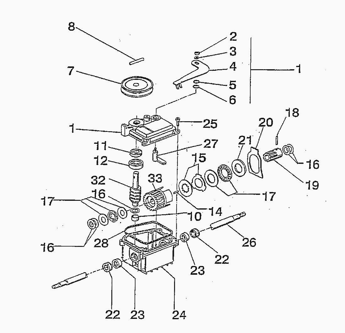
pos.
decription
spare part number
1
GETRIEBEDECKEL
18128
2
MUTTER
13041
3
SCHEIBE
13043
4
HEBEL
18129
5
SCHEIBE (ALU)
18130
6
O-RING
18131
7
RIEMENSCHEIBE
18843
8
KERBSTIFT
18109
10
LAGERBUCHSE
18134
11
WELLENDICHTRING
18135
12
LAGER
18136
14
SPANNHUELSE
18138
15
KUPPLUNGSSCHEIBEN-SATZ
18139
16
SGLEICHSSCHEIBEN-SATZ
18140
17
AXIALLAGER-SATZ KOMPL.
18141
18
SPANNHUELSE
07211
19
MITNEHMER
18142
20
KUPPLUNGSSCHALTGABEL
18143
21
SCHEIBE
18144
22
WELLENDICHTRING
18145
23
NADELLAGER
18146
24
GETRIEBEGEHAEUSE
18147
25
LINSENSCHRAUBE
07673
26
ANTRIEBSWELLE
18149
27
HEBEL
18150
28
DECKELDICHTUNG
18151
32
SCHNECKE
18672
33
SCHNECKENRAD
18669
Lists
Toro
Roth / TORO
Ride-On Mowers
Hand operated
Sweeper
Snowthrower
Vac/Blower
Lawnmower
Grass Baggers
4-stroke SP
4-stroke
2-stroke SP
295/26643
295/26643 B
295/26640 BC
295/26640 B
287/20916B
277
255/22700 BC
255/22700
239
237/22045
237/22045 B
237/22044 BC
237/22036
237/22035
234
224
350000
Carburetor
Flywheel and Ignition
Recoil Starter
Engine Governor
ShortBlock
Muffler
Engine Assy.
Engine Stop Assy.
Motor
Gearbox
Mower
340000
330000
320000
310000
300000
290000
280000
270000
260000
250000
240000
230000
222/16212 WG
2-stroke
Electric
Battery
Robin
Terms and Conditions
(C) by motoruf