back to
>
Roth / TORO
>
Ride-On Mowers
>
Traktor
>
520 Lxi
>
521/73580
>
9900001
>
Governor Assy.
Spare Parts Lists for Toro Roth / TORO Governor Assy.
pos.
decription
spare part number
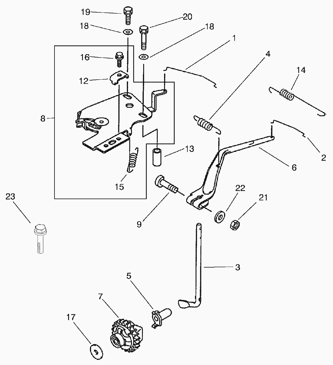
1
Link-Choke
95-9840
2
Link
95-9841
3
Arm-Pivot
98-7362
4
Spring-Governor
98-7363
5
Sleeve
Kw10140
6
Arm-Governor
98-7364
7
Governor ASM
98-7365
8
Panel-Comp-Control
95-9846
9
Bolt
93-8606
12
Clamp
95-9849
13
Collar
95-9850
14
Spring
95-9851
15
Spring
95-9852
16
Bolt (Only On: 73545)
95-9853
16
Screw-Sternantrieb (Only On: 73546)
98-7374
17
Washer
93-8612
18
Washer
95-9854
19
Bolt-Upset-Ws
95-9855
20
Bolt-Upset-Ws
95-9856
21
Nut-Hex
Kw10101
22
Washer
93-8645
23
Bolt-Flanged
Kw10028
Lists
Toro
Roth / TORO
Ride-On Mowers
Traktor
264-6
246 HE
244-5
212-H
212-5
17-44 HXLE
16-44 HXL
16-38 HXL
16-38 XLE
15-44 HXL
15-38 HXL
14-38 HXL
14-38 XL
13-38 HXL
13-38 XL
13-32 XLE
12-38 HXL
12-38 XL
12-32 XL
264 H
265 H
267 H
268 H
270 H
520 xi
520 Lxi
521/73546
521/73580
9900001
Bumper & Hood Support Assy.
Steering Tower & Fuel Tank SupportS Assy.
Attach-A-Matic & Hitch Assy.
Lower Power Steering Assy.
Power Steering & Tilt Assy.
Tie Rods, Spindle, & Front Axle Assy.
Hydro Transaxle Assy.
Hydro Transaxle Assy. (Cont.)
Transmission Assy.
Drive Shaft Assy.
Lower Hydro Lift Assy.
Upper Hydro Lift Assy.
Hood & HeadLight Assy.
Grill & Side Panels Assy.
Dash Assy.
Fender, Footrest, & Seat Assy.
Fender, Footrest, & Seat Assy. (Cont.)
Rear Smart Turn Assy.
Hi-Lo Shift Assy.
Upper Parking Brake Assy.
Hydro Controls Assy.
Front Smart Turn Assy.
Lower Parking Brake Assy.
Cruise Control Assy.
Fender & Fuel System Assy.
Wheel Assy.
Liquid Cooled GAS Engine Assy.
Liquid Cooled GAS Engine Assy. (Cont.)
20 HP Electrical Assy.
Crankcase Assy.
Piston & Crankshaft Assy.
Valve/Camshaft Assy.
Oil Pump & Filter Assy.
Water Pump Assy.
Electrical Components
Governor Assy.
Carburetor Assy.
Air Cleaner Assy.
Fuel Pump & Filter Assy.
Starter Assy.
200000001
210000001
523 Dxi
Rider
Mower decks
Attachements
Hand operated
Robin
Terms and Conditions
(C) by motoruf