back to
>
Roth / TORO
>
Hand operated
>
Snowthrower
>
Two stage
>
828 PowerShift
>
629/38574
>
1000001
>
Handle Assy.
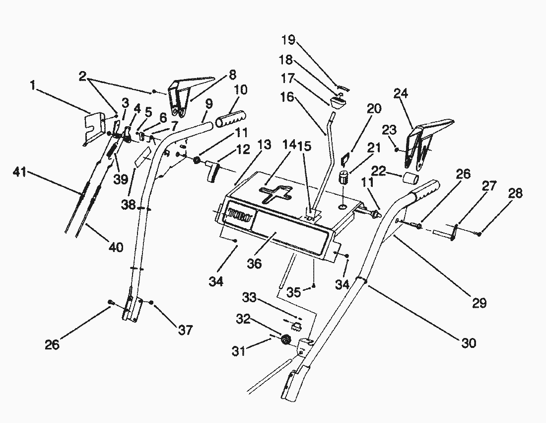
Spare Parts Lists for Toro Roth / TORO Handle Assy.
pos.
decription
spare part number
1
Cover-Lever Lock
63-2170
2
Screw
2210-250
3
Tang-Locking
62-0300
4
Cam-Release
62-0290
5
Ring-Retaining
32151-66
6
Latch-Lock
62-0280
7
Spring-Torsion
63-2910
8
Lever-Impeller
62-1050
9
Handle-R.H.
62-1381
10
Handlegrip
66-7850
11
Bushing-Lever
62-1070
12
Lever-Trip
62-1640
13
Panel-Control
66-8100
14
Decal-Panel Top
62-2550
15
Plate-Guide
62-1490
16
Rod-Chute Crank
63-2160
17
Knob-Chute Control
62-1320
18
Push-On Speed Nut
3290-320
19
Cover-Knob
62-1520
20
Key-Ignition
63-8360
21
Switch
40-5940
22
Spacer-Traction Lever
63-3380
23
Nut
3296-2
24
Lever-Traction
62-1060
26
Screw-Hex. Washer Hd.
3234-7
27
Rod-Cross
63-2030
28
Screw
3290-359
29
Handle-L.H.
66-8091
30
Tie Wrap
3290-378
31
Roll Pin
32121-50
32
Gear-Universal
62-1460
33
Washer-Rubber
62-1230
34
Self Tapping Screw
32104-76
35
Screw-Hex Flange Hd.
32104-118
36
Decal-Panel Front
63-2520
37
Nut-Lock
3296-47
38
Decal-Adjustment (Model No. 38505)
63-3470
39
Spring-Extension
63-2720
40
Cable-Traction
63-2710
41
Cable-Impeller
63-2700
Harness-Wire
63-3420
Loose Parts Kit
12-8949
Lists
Toro
Roth / TORO
Ride-On Mowers
Hand operated
Sweeper
Snowthrower
Attachements
Two stage
1332 PowerShift
1232 PowerShift
1132 PowerShift
1132
1028 PowerShift
924 PowerShift
828 PowerShift
629/38574
2000001
1000001
Recoil Starter Tecumseh No. 590630
Engine Tecumseh Model No. HM80-155386P (Cont.)
Engine Tecumseh Model No. HM80-155386P
Carburetor Tecumseh No. 632334A
Electric Starter Engine Kit No. 37-4810 (Optional)
Differential Kit Model No. 38038 (Optional)
Snow Cab Assy. No. 68-9500 (Optional)
Drift Breaker Assy. (Optional)
Light Assy.
Handle Assy.
Traction Linkage Assy.
Traction Drive Assy.
Transmission Assy. No. 66-8030 (Cont.)
Transmission Assy. No. 66-8030
Engine Assy.
28 Auger Gearcase Assy. No. 66-8021
Housing & Chute Assy. (Cont.)
Housing & Chute Assy.
0000001
629/38545
824 PowerShift
824 XL
824
724
624 PowerShift
622
521
3521
Single stage
Vac/Blower
Lawnmower
Robin
Terms and Conditions
(C) by motoruf