back to
>
Roth / TORO
>
Ride-On Mowers
>
Traktor
>
13-38 HXL
>
392/71213
>
59100001
>
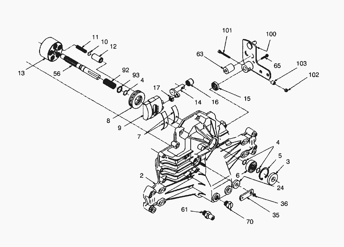
HydroGearTransaxle Model No. 321-0500 (Cont.)
Spare Parts Lists for Toro Roth / TORO HydroGearTransaxle Model No. 321-0500 (Cont.)
spare parts list 1
spare parts list 2
pos.
decription
spare part number
44
45
46
47
48
49
50
52
53
66
94
98
99
pos.
decription
spare part number
2
3
Ring-Wire Retaining
92-6543
4
5
6
7
8
9
10
11
12
13
14
15
Seal-Lip
92-6544
16
17
24
Seal-Lip
92-6545
35
Arm-Bypass
92-6547
36
Ring-Retaining
936109
56
61
Breather Ass y
92-8859
63
65
70
92
93
100
Control Arm Ass y
92-9792
101
Screw-Hex Hd. Cap
3274-59
102
Locknut
3296-12
103
Spacer-Lock
86-4270
Lists
Toro
Roth / TORO
Ride-On Mowers
Traktor
264-6
246 HE
244-5
212-H
212-5
17-44 HXLE
16-44 HXL
16-38 HXL
16-38 XLE
15-44 HXL
15-38 HXL
14-38 HXL
14-38 XL
13-38 HXL
392/71213
59100001
Engine B&S Model 28M707-0122-01
HydroGearTransaxle Model No. 321-0500 (Cont.)
HydroGearTransaxle Model No. 321-0500
Transaxle Assy.
HOC Assy.
Electrical Assy.
Speed Control & Rear Wheel Assy.
Clutch Assy.
Steering Assy.
Engine Assy.
Front Axle Assy.
Hood Assy.
Seat Assy.
Frame Assy.
59000001
4900001
13-38 XL
13-32 XLE
12-38 HXL
12-38 XL
12-32 XL
264 H
265 H
267 H
268 H
270 H
520 xi
520 Lxi
523 Dxi
Rider
Mower decks
Attachements
Hand operated
Robin
Terms and Conditions
(C) by motoruf