back to
>
Roth / TORO
>
Ride-On Mowers
>
Mower decks
>
122cm Seit
>
534/78268
>
7900001
>
Suspension Assy.
Spare Parts Lists for Toro Roth / TORO Suspension Assy.
pos.
decription
spare part number
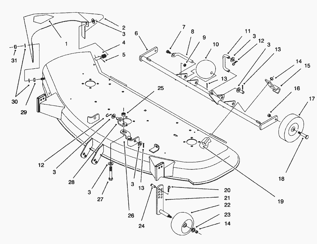
1
Decal-Danger
93-7316
2
Chute & Decal Assembly (Incl. Ref.
94-1836
3
Washer
3256-26
4
Spring
93-1630
5
Pin-Cotter
3272-10
6
Support-Gage Wheel
79-4140-03
7
Capscrew
321-4
8
Shaft-Roller
118960
9
MUTTER
3296-42
10
Roller
29-4820
11
Link-Rear
79-5380
12
Pin-Cotter
9335064
13
Pin-Cotter
3272-21
14
Locknut
3296-39
15
Clamp
110837
16
Hex Locknut
32146-2
17
Wheel-Gage
110506
18
Bolt-Shoulder
5188
19
Carriage Bolt
3231-25
20
Cotter-Hairpin
933505
21
Plate-Gage Wheel
68-2350
22
Wheel-Gage
68-2730
23
Flat Washer
3256-24
24
Pin-Clevis
283-2
25
Hex. Jam Nut
3218-5
26
Bracket-Lower Lift
86-9240
27
Screw-Hex Hd. Cap
325-13
28
Bracket-Upper Lift
86-9250
29
Bushing-Pivot
116080
30
Washer-Nylon
93-1633
31
Nut-Jam
9152366
Lists
Toro
Roth / TORO
Ride-On Mowers
Traktor
Rider
Mower decks
91cm Heck
97cm Seit
107cm Seit
112cm Seit
122cm Seit
534/78260
534/78268
6900001
7900001
Deck & Idler Assy.
Cover & Spindle Assy.
Suspension Assy.
8900001
9900001
200000001
210000001
132cm Seit
152cm Seit
Attachements
Hand operated
Robin
Terms and Conditions
(C) by motoruf