back to
>
Mowers
>
Petrol
>
Without drive up to 42 cm
>
series 4
>
4.42 B
>
XM 45
>
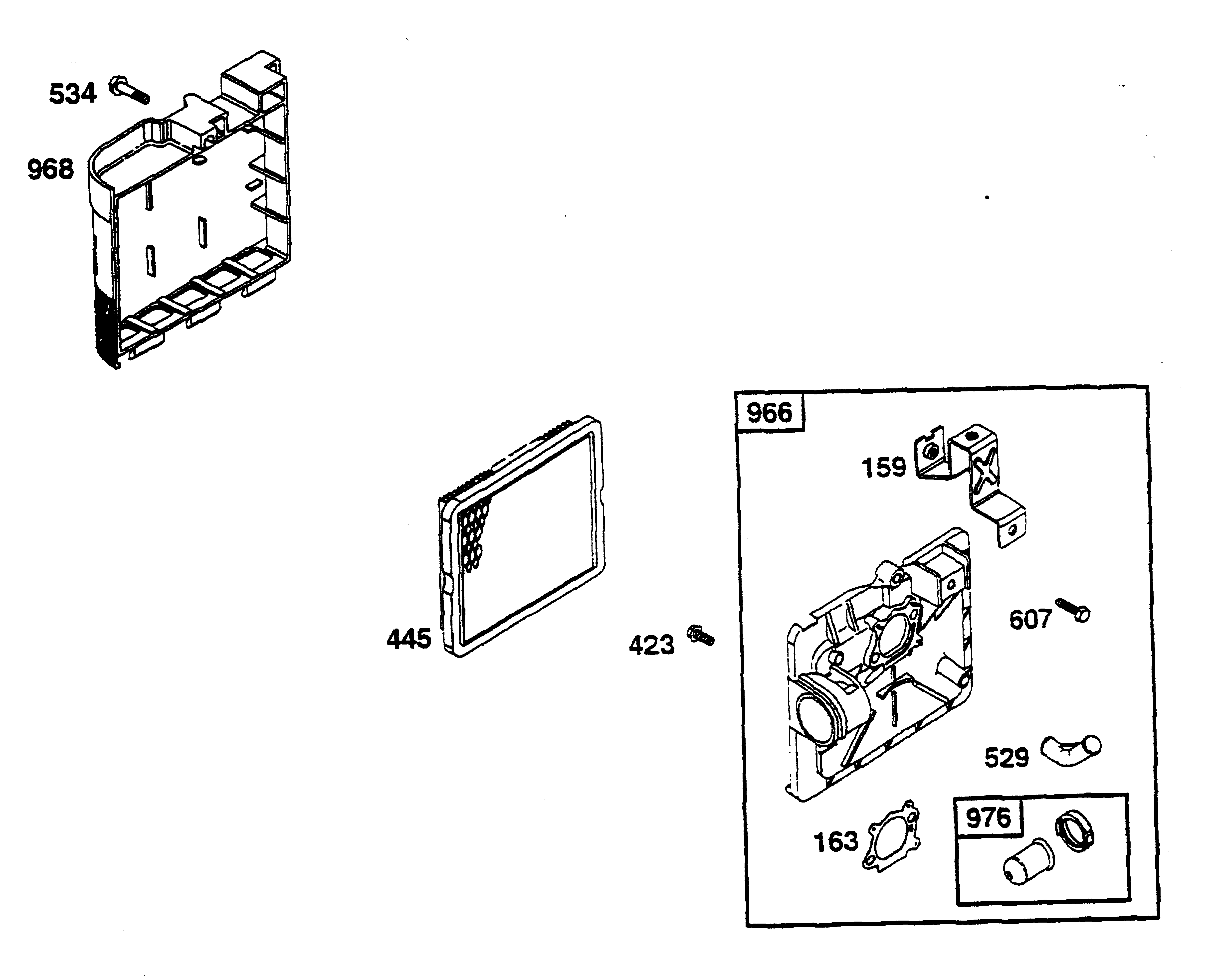
Air cleaner
Spare Parts Lists for Wolf Mowers Air cleaner
pos.
decription
spare part number
159
Bracket - Air Cleaner
2059 404
163
Choke
2059 220
423
Screw
2069 142
445
Filter Element
2063 408
529
Breather tube
2059 221
534
Screw
2069 141
607
Screw
2059 303
966
Retainer-Air Filter
2059 405
968
Cover-Air Cleaner
2059 406
976
Primer
2057 181
Lists
Wolf
Handtools
Hedge-shears
Secateurs
Grass-shears
Loppers
Tree Lopper
Tree care
Illumination, Ambiance
Battery-shears
Shredders
Saws
Grass-Trimmers
Reel-mowers
Spreaders / Portax
Irrigation
Scarifiers / Aerators
Mowers
Accu
Petrol
Without drive up to 42 cm
series 2
series 4
4.42 B
4.42 B
Data Sheet
Chassis, Rear flap
Drive, Wheels
Handlebar compl.
Motor, Blade, Shift case
XM 45
Cylinder assembly
Piston
Crankshaft
Sump bases
Carburetor
Controls, Electrical
Fuel tank
Air cleaner
Muffler
Flywheel, Blower housing, Covering
Rewind starter compl.
Gasket set
4.42 TB
series 6
Premio
Power Edition
Esprit
Moto-Verte
Others
Compact Plus
Without drive from 43 cm on
Drive up to 42 cm
Drive from 43 cm on
Electric start / Touch 'n Mow
Electro
Ride-on Mowers
Petrol engines
Optional extras
Terms and Conditions
(C) by motoruf