back to
>
Petrol engines
>
Honda
>
GCV
>
Motor Honda GCV 135
>
Carburetor
Spare Parts Lists for Wolf Petrol engines Carburetor
pos.
decription
spare part number
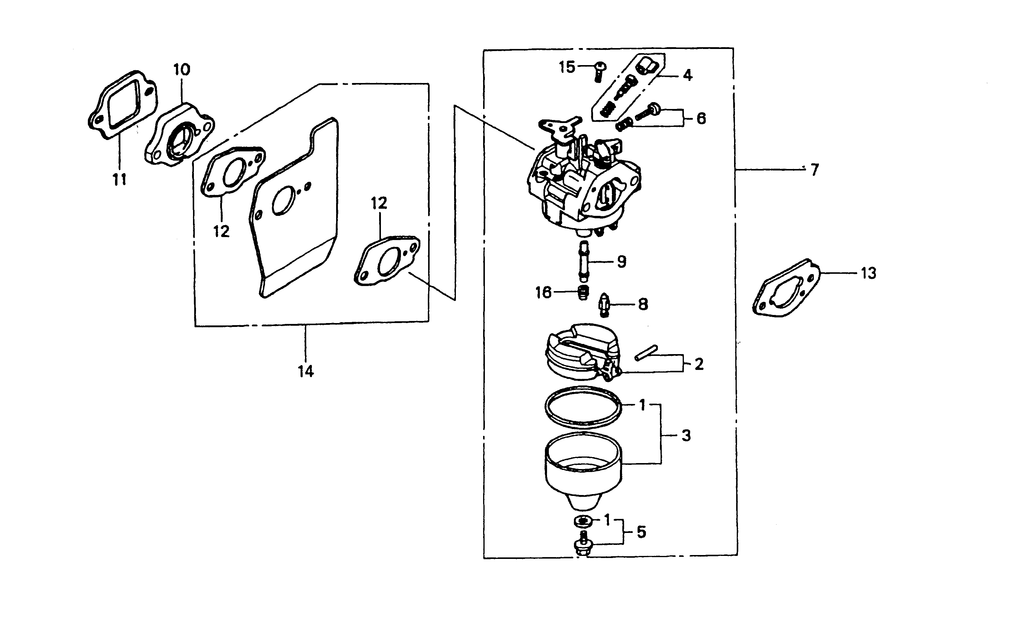
1
Seal
2098 312
2
Chamber-Float
2098 054
3
Cap
2098 414
4
Screw-Set
2098 010
5
Screw-Set
2098 011
6
Screw-Set
2098 012
7
Carburetor
2098 055
8
Kit-Idle Mixture
2098 409
9
Nozzel-Main
2098 408
10
Insulator
2098 314
11
Seal
2098 315
12
Seal
2098 374
13
Seal
2098 316
14
Guide-Air
2098 015
15
Screw
2098 120
16
Nozzle
2098 328
16
Nozzle
2098 329
16
Nozzle
2098 330
Lists
Wolf
Handtools
Hedge-shears
Secateurs
Grass-shears
Loppers
Tree Lopper
Tree care
Illumination, Ambiance
Battery-shears
Shredders
Saws
Grass-Trimmers
Reel-mowers
Spreaders / Portax
Irrigation
Scarifiers / Aerators
Mowers
Ride-on Mowers
Petrol engines
Tecumseh
Briggs & Stratton
Honda
GCV
GCV 160
GCV 160
GCV 135 N1S
Motor Honda GCV 135
Cylinder assembly
Sump-engine
Crankshaft, Piston
Valves
Control
Carburetor
Flywheel, Ignition, Brake
Fuel tank
Air cleaner, Muffler
Covers, Recoil
GCV 135 A2
GCV 160
GXV
Kawasaki
Optional extras
Terms and Conditions
(C) by motoruf