back to
>
Battery-shears
>
Accu
>
Accu 40 Standard
>
Case, Switch
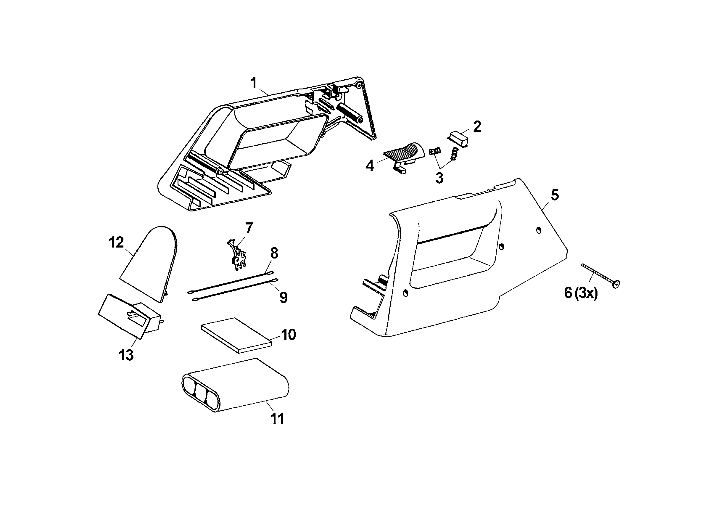
Spare Parts Lists for Wolf Battery-shears Case, Switch
pos.
decription
spare part number
1
case, left
7098 315
2
Safety Button
7098 103
3
Compression Spring
7090 208
4
Push Button
7098 104
5
Case Right
7098 316
6
Screw
0012 897
7
microswitch
7750 101
8
Cable Yellow
7090 212
9
Cable Red
7090 211
10
Bolstering Material
7093 221
11
Battery
7088 056
12
Cover
7098 301
13
Socket Assbly
7098 013
Lists
Wolf
Handtools
Hedge-shears
Secateurs
Grass-shears
Loppers
Tree Lopper
Tree care
Illumination, Ambiance
Battery-shears
Accu
Accu 45
Accu 60
Accu 75
Accu BS 60
Accu BS 45
Accu 45
Accu 45 Classic
Accu 60
Accu 60 Comfort
Accu 75
Accu 75 Professional
Accu BS 60
Accu BS 60 Comfort
Accu BS 60
Accu BS 45
Accu 40 Standard
Data Sheet
Case, Switch
Blade, Motor
Accu 30
Accu 40
Accu BS 45
Accu BS 50
Accu 45
Accu 45 Classic
Accu 45
Accu 60
Accu 60 Comfort
Accu 75
Accu 75 Professional
Accu BS 60
Accu BS 60 Comfort
Accu BS 60
Accu BS 60 Comfort
Accu BS 60
Accu 60
Accu 60
Accu 60
Accu 80
Accu 80
Accu 100
Accu 100
Accu BS 80
SP / SB
Shredders
Saws
Grass-Trimmers
Reel-mowers
Spreaders / Portax
Irrigation
Scarifiers / Aerators
Mowers
Ride-on Mowers
Petrol engines
Optional extras
Terms and Conditions
(C) by motoruf