back to
>
Mowers
>
Electro
>
Without drive from 40 cm on
>
Compact Plus
>
Compact plus Power Edition 40 E
>
Chassis
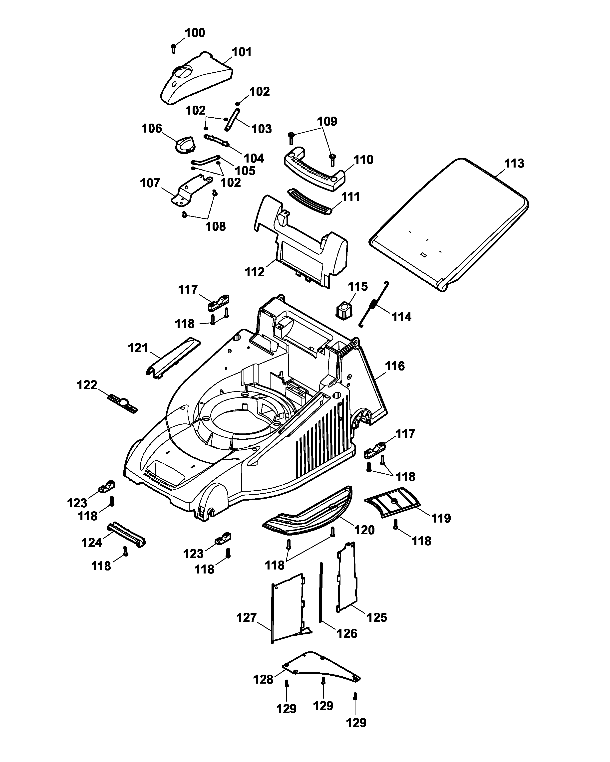
Spare Parts Lists for Wolf Mowers Chassis
pos.
decription
spare part number
100
Screw
0012 613
101
Console cover
4021 306
102
Ring
0020 654
103
Connecting Part 1
4021 136
104
Console bracket
4021 130
105
Connecting Part 2
4021 134
106
Operation Button
4021 305
107
Console
4021 114
108
Screw
0012 606
109
Screw
0012 643
110
Rear Carrying Handle
4601 304
111
Handle Rear
4601 318
112
Chassis Cover
4021 310
113
Rear Flap
4628 322
114
Tension Spring
4961 108
115
Button
4961 304
116
Chassis
4021 300
117
Shell, Rear
4961 313
118
Screw
0012 631
119
V-Belt Cover
4961 324
120
Wind Tunnel Cover
4001 311
121
Air conduction
4601 315
122
Wolf-Garten - Label
0051 115
123
Front Support Shell
4961 312
124
Handle Front
4601 319
125
Flap 2
4021 108
126
Hinge rod
4021 107
127
Flap 1
4021 100
128
Sheet
4021 113
129
Screw
0012 625
Lists
Wolf
Handtools
Hedge-shears
Secateurs
Grass-shears
Loppers
Tree Lopper
Tree care
Illumination, Ambiance
Battery-shears
Shredders
Saws
Grass-Trimmers
Reel-mowers
Spreaders / Portax
Irrigation
Scarifiers / Aerators
Mowers
Accu
Petrol
Electro
Without drive up to 38 cm
Without drive from 40 cm on
series 2
series 4
series 6
Concept
Premio
Power Edition
Esprit
Others
Compact Plus
Compact plus 40 E
Compact plus Power Edition 40 E
Compact plus Power Edition 40 E
Data Sheet
Chassis
Axle, Wheels
Handlebar, Switch
Motor, Blade
grass collector
Drive
Ride-on Mowers
Petrol engines
Optional extras
Terms and Conditions
(C) by motoruf