back to
>
Ride-on Mowers
>
Cart
>
OHV
>
Cart OHV 2
>
Collecting system HF-C
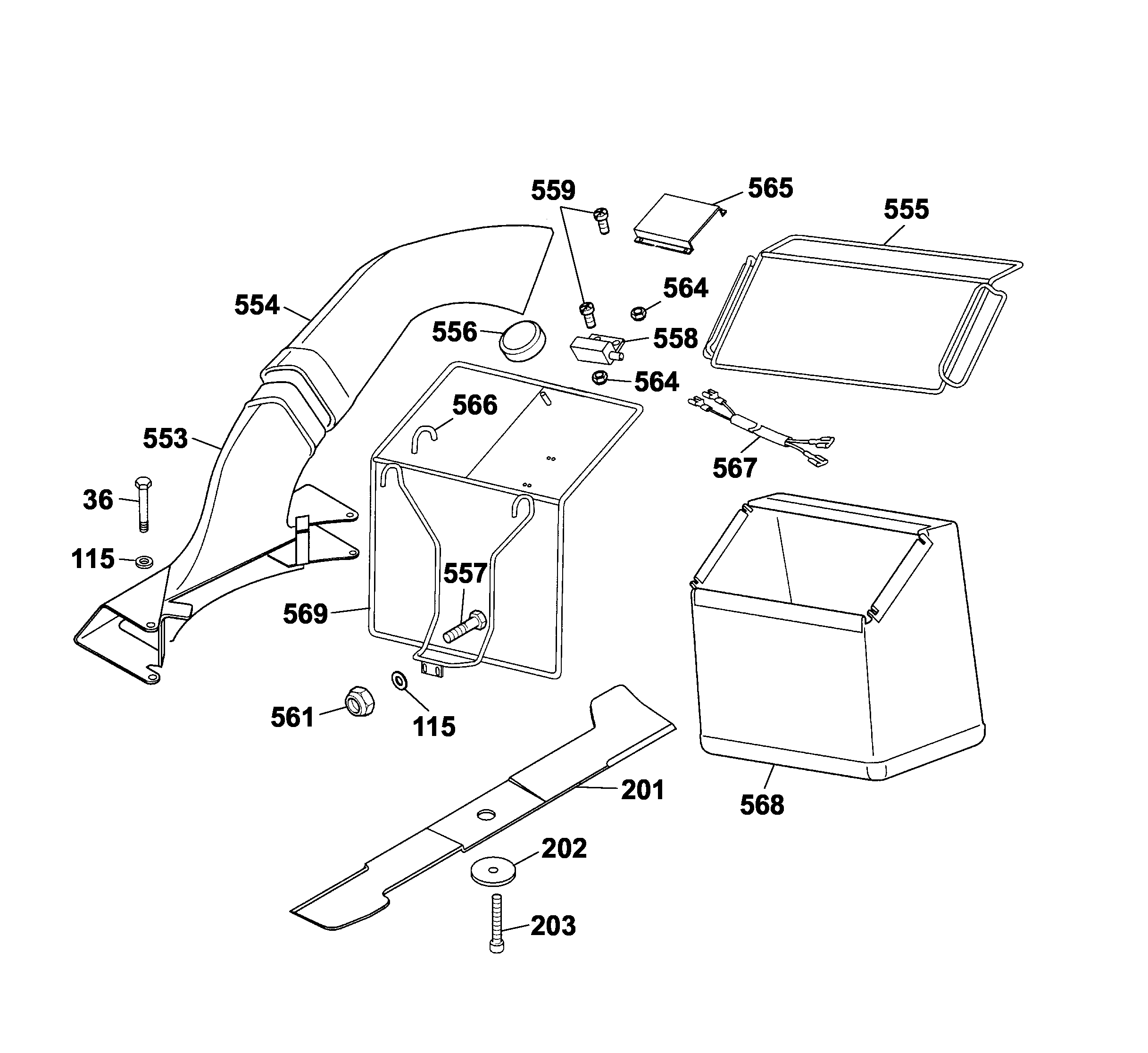
Spare Parts Lists for Wolf Ride-on Mowers Collecting system HF-C
pos.
decription
spare part number
36
Screw
0010 315
115
Washer
0017 121
201
Blade
6155 400
202
Washer
6150 441
203
Screw
0011 420
553
Side Guard
6110 050
554
Tunnel Upper Part Compl.
6110 051
555
Grass Catcher Frame
6110 452
556
Handwheel
6110 304
557
Screw
0012 875
558
Switch-Key
6150 061
559
Screw
0012 864
561
Nut
0016 311
564
Hex. Nut
0016 310
565
Panel
6110 469
566
Socket
6110 303
567
Connceting Cable
6110 210
568
Grass catcher
6110 320
569
Frame With Covering Sheet Metal
6110 052
***
Poly Bag With Self-Assembly Parts
6110 057
Lists
Wolf
Handtools
Hedge-shears
Secateurs
Grass-shears
Loppers
Tree Lopper
Tree care
Illumination, Ambiance
Battery-shears
Shredders
Saws
Grass-Trimmers
Reel-mowers
Spreaders / Portax
Irrigation
Scarifiers / Aerators
Mowers
Ride-on Mowers
Scooter
Cart
SV
OHV
Cart OHV 2
Cart OHV 2
Cart OHV 2
Data Sheet
Frame, Height-adjustment
Steering, Seat
Drive
Mower deck assy. compl.
Collecting system HF-C
Gear Scooter+Cart
Intek Edge OHV
Moto Verte
Gear
Trac
Petrol engines
Optional extras
Terms and Conditions
(C) by motoruf