back to
>
Mowers
>
Electro
>
Without drive from 40 cm on
>
Esprit
>
Esprit 40 E
>
Covering cap, Motor, Blade
Spare Parts Lists for Wolf Mowers Covering cap, Motor, Blade
pos.
decription
spare part number
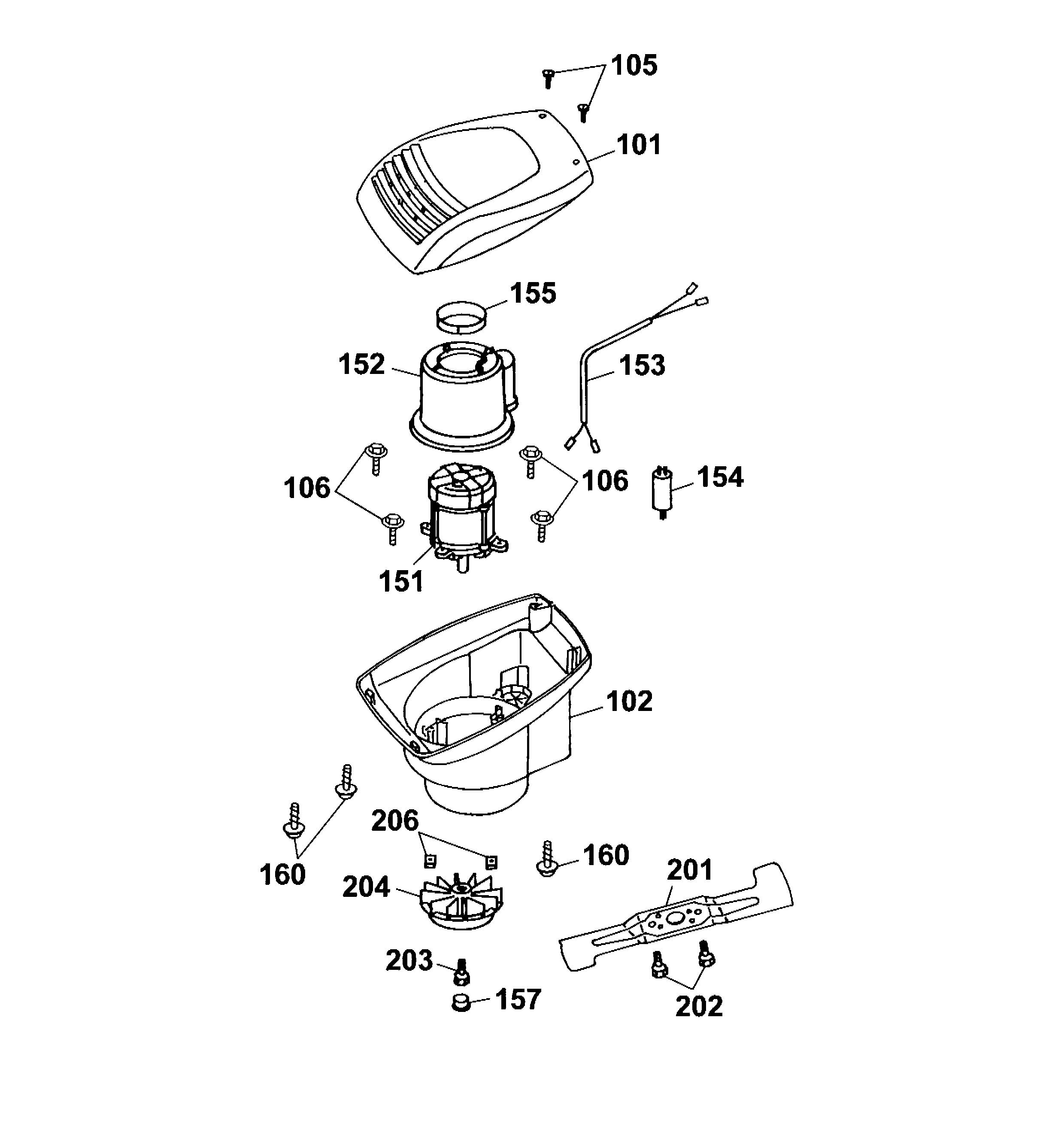
101
Upper Part
4620 301
102
Lower Part
4620 300
105
Screw
0012 625
106
Screw
0012 886
151
Motor
1140 065
151
Motor Series B Only
1141 075
152
Air-Conduction
4961 306
153
Wire Connector
3567 214
154
Condenser, 20 µF
1133 040
155
Ring
4317 305
155
Ring
4020 305
157
Insert-Grip
4317 308
160
Screw
0012 641
201
Blade
4001 095
202
Screw
0010 385
203
Screw
0010 403
204
Fan Complete
4317 016
206
Nut
0016 409
Lists
Wolf
Handtools
Hedge-shears
Secateurs
Grass-shears
Loppers
Tree Lopper
Tree care
Illumination, Ambiance
Battery-shears
Shredders
Saws
Grass-Trimmers
Reel-mowers
Spreaders / Portax
Irrigation
Scarifiers / Aerators
Mowers
Accu
Petrol
Electro
Without drive up to 38 cm
Without drive from 40 cm on
series 2
series 4
series 6
Concept
Premio
Power Edition
Esprit
Esprit 46 E
Esprit 46 E / CH
Esprit 40 E
Data Sheet
Chassis
Axle, Wheels, Height-adjustment
Handlebar, Switch
Covering cap, Motor, Blade
Grass collector Esprit
Esprit 40 E
Esprit 40 E
Esprit 40 E
Esprit 40 E / A
Esprit 40 E
Esprit 40 E
Esprit 46 E
Esprit 46 E
Esprit 40 E
Esprit 46 E
Esprit 46 E
Esprit 40 E
Esprit 40 E
Esprit 46 E
Others
Compact Plus
Drive
Ride-on Mowers
Petrol engines
Optional extras
Terms and Conditions
(C) by motoruf