back to
>
Ride-on Mowers
>
Cart
>
Moto Verte
>
Cart SV 3M
>
Frame, Height-adjustment
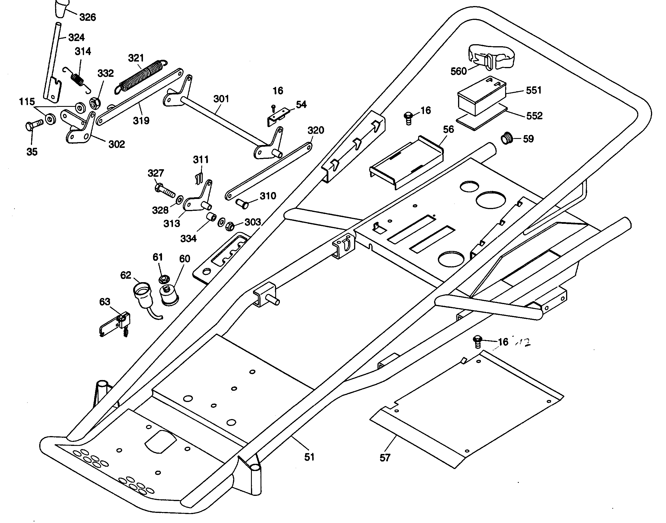
Spare Parts Lists for Wolf Ride-on Mowers Frame, Height-adjustment
pos.
decription
spare part number
16
Screw
0010 893
17
Screw
0010 890
35
Screw
0010 365
51
Frame
6110 011
54
Closing Device
6110 130
56
Battery holder
6190 100
57
Cover
6165 190
57
V-Belt Cover, Red
6110 190
59
Cover
6110 318
60
Key Switch Compl.
6150 051
61
Nut
6150 471
62
Cable Harness
6110 208
62
Cable Harness
6190 054
63
Key Hook Compl. With Key
6110 043
***
Set Of Keys6.42Accu
6150 108
***
Spare Key
6150 109
115
Washer
0017 121
301
Adjusting Axle
6165 027
301
Height-Adjustment Axle, Red
6110 027
302
Lever, Red
6110 060
302
Lever
6165 060
303
Hex. Nut
0016 312
310
Bolt
6340 214
311
Retaining Clip
0020 981
313
Lever, Red
6110 029
313
Lever
6165 029
314
Tension Spring
6110 412
319
Connecting Rod Right, Red
6110 062
320
Connecting Rod Left, Red
6110 174
321
Tension Spring
6150 413
324
Height-Adjustment Lever, Red
6110 436
326
Gearshift Knob
6150 318
327
Screw
0010 389
328
Washer
0017 291
332
Nut
0016 311
334
Bush
6110 193
551
Battery 12 V, 7,2 Ah
6150 075
552
Rubber Pad
6190 304
560
Clamping Strap
6150 216
Lists
Wolf
Handtools
Hedge-shears
Secateurs
Grass-shears
Loppers
Tree Lopper
Tree care
Illumination, Ambiance
Battery-shears
Shredders
Saws
Grass-Trimmers
Reel-mowers
Spreaders / Portax
Irrigation
Scarifiers / Aerators
Mowers
Ride-on Mowers
Scooter
Cart
SV
OHV
Moto Verte
Cart SV 3M
Cart SV 3M
Data Sheet
Frame, Height-adjustment
Steering, Seat
Drive
Mower housing
Rear collector system
VLV 60 (without e-start)
Cart OHV 2 M
Gear
Trac
Petrol engines
Optional extras
Terms and Conditions
(C) by motoruf