back to
>
Mowers
>
Petrol
>
Without drive up to 42 cm
>
Compact Plus
>
Compact plus Power Edition 40 H
>
Motor, Blade
Spare Parts Lists for Wolf Mowers Motor, Blade
pos.
decription
spare part number
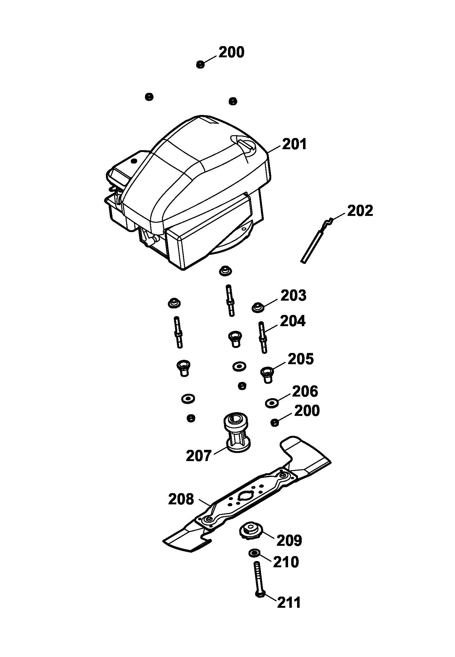
200
Hex. Nut
0016 312
201
Motor Honda GCV 135
2098 075
***
Key
0029 130
202
Bowden Wire Brake
4008 058
203
Motor Bush
4001 172
204
Stud Bolt, Short
4001 170
205
Spacer
4601 312
206
Washer
0017 111
207
Coupling
4601 404
208
Cutter Bar Compl.
4001 094
208
Cutter Bar
4001 405
***
Replacement blades VI-W (1 pair)
4350 040
209
Driver
4605 408
210
Hex. Screw M 8X12
0010 384
210
Friction Washer
0017 105
211
Screw
0010 264
Lists
Wolf
Handtools
Hedge-shears
Secateurs
Grass-shears
Loppers
Tree Lopper
Tree care
Illumination, Ambiance
Battery-shears
Shredders
Saws
Grass-Trimmers
Reel-mowers
Spreaders / Portax
Irrigation
Scarifiers / Aerators
Mowers
Accu
Petrol
Without drive up to 42 cm
series 2
series 4
series 6
Premio
Power Edition
Esprit
Moto-Verte
Others
Compact Plus
Compact plus 40 B
Compact plus Power Edition 40 H
Data Sheet
Chassis
Axle, Wheels
Handlebar, Switch
Motor, Blade
grass collector
Motor Honda GCV 135
Without drive from 43 cm on
Drive up to 42 cm
Drive from 43 cm on
Electric start / Touch 'n Mow
Electro
Ride-on Mowers
Petrol engines
Optional extras
Terms and Conditions
(C) by motoruf