back to
>
Mowers
>
Petrol
>
Drive from 43 cm on
>
Power Edition
>
Power Edition 46 HA
>
Motor, Blade
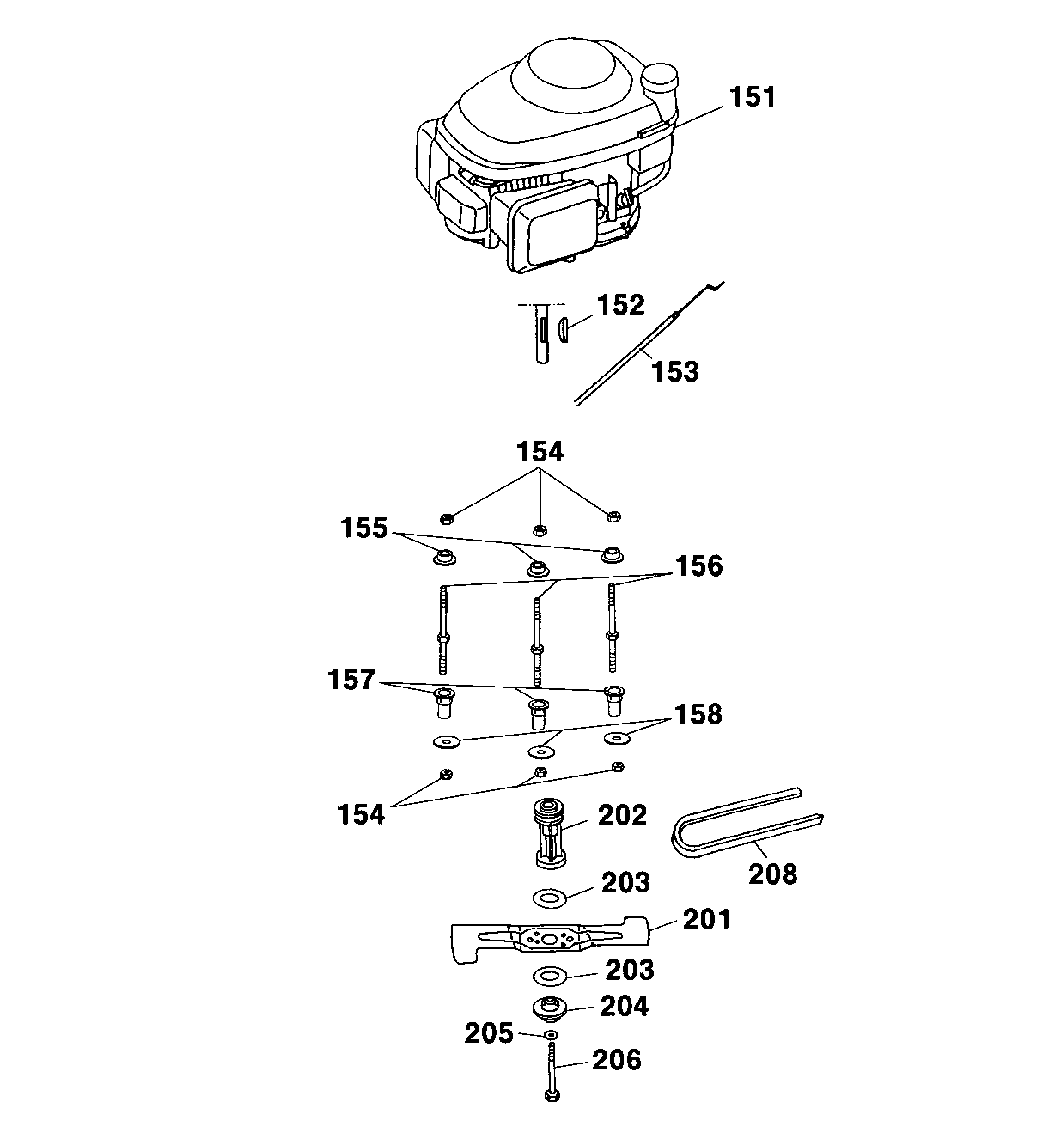
Spare Parts Lists for Wolf Mowers Motor, Blade
pos.
decription
spare part number
151
Motor
2098 000
152
Key
0029 130
153
Bowden Wire Brake
4005 058
154
Hex. Nut
0016 312
155
Motor Bush
4001 172
156
Stud Bolt, Short
4001 170
157
Spacer
4601 312
158
Washer
0017 111
201
Blade
4001 095
202
Coupling
4605 402
203
coupling
6450 403
204
Coupling Disk
4840 402
205
Friction Washer
0017 105
206
Screw
0010 264
208
V-Belt
0039 218
Lists
Wolf
Handtools
Hedge-shears
Secateurs
Grass-shears
Loppers
Tree Lopper
Tree care
Illumination, Ambiance
Battery-shears
Shredders
Saws
Grass-Trimmers
Reel-mowers
Spreaders / Portax
Irrigation
Scarifiers / Aerators
Mowers
Accu
Petrol
Without drive up to 42 cm
Without drive from 43 cm on
Drive up to 42 cm
Drive from 43 cm on
series 2
series 4
series 6
Moto-Verte
Concept
Premio
Power Edition
Power Edition 46 HA
Data Sheet
Chassis, Add-on pieces
Axle, Wheels, Height-adjustment
Handlebar compl.
Motor, Blade
Grass collector Premio
GCV 160
Power Edition 46 HA
Power Edition 46 HA
Power Edition 46 TMA
Power Edition 46 KA
Esprit
Others
Electric start / Touch 'n Mow
Electro
Ride-on Mowers
Petrol engines
Optional extras
Terms and Conditions
(C) by motoruf