back to
>
Mowers
>
Electro
>
Without drive up to 38 cm
>
series 2
>
2.32 E
>
Motor, Blade
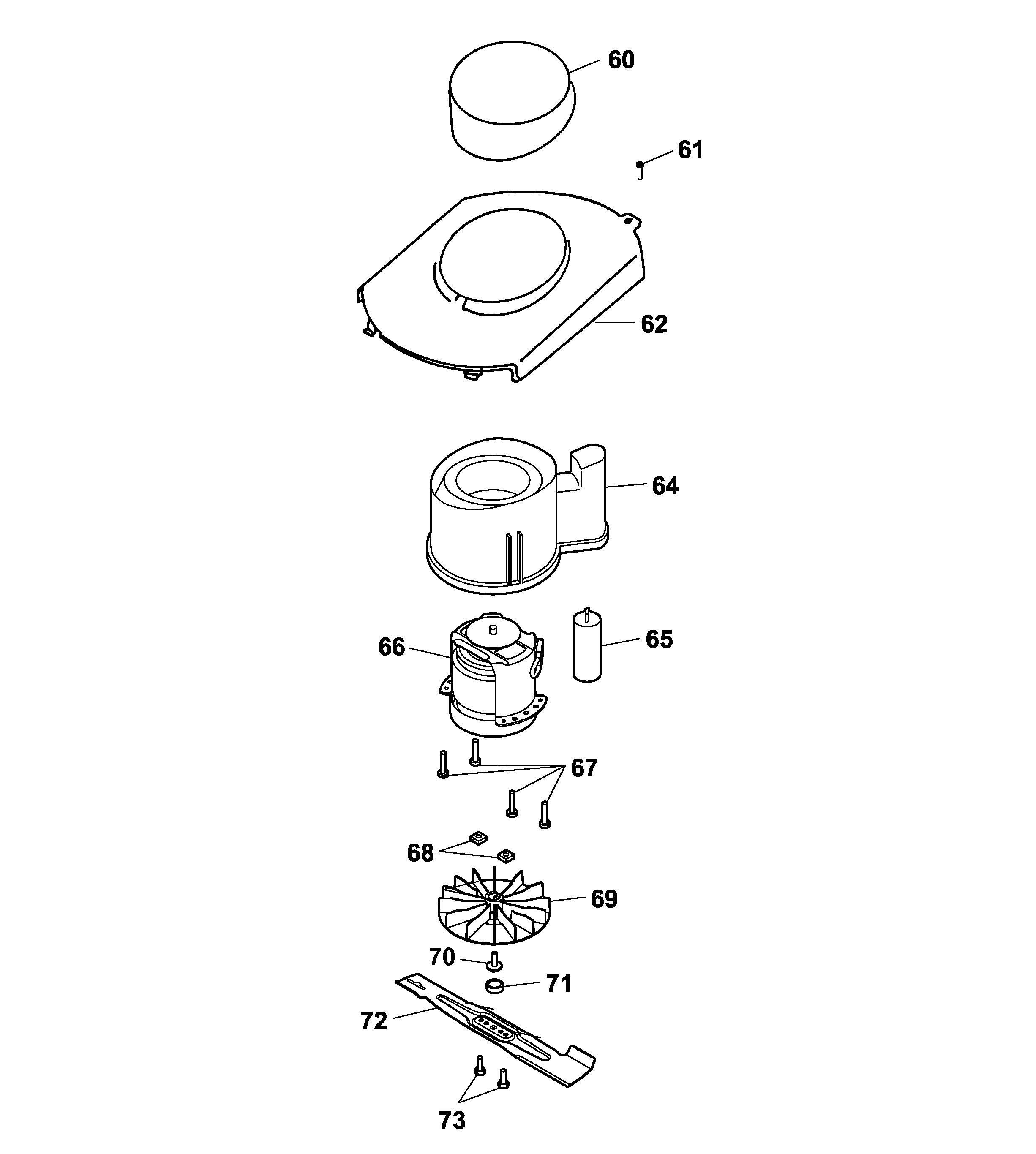
Spare Parts Lists for Wolf Mowers Motor, Blade
pos.
decription
spare part number
60
Motor Covering
4936 305
61
Screw
0012 625
62
Chassis Cover
4912 302
64
Air-Conduction
4932 308
65
Condenser, 16 µF
1117 030
66
Motor,Premio32E(2004)
1105 060
67
Screw
0012 610
68
Square Nut
0016 405
69
Fan Complete
4936 027
70
Screw
0010 680
71
Insert-Grip
4936 308
72
Blade
4932 090
73
Hex. Screw M6X16
0010 366
Lists
Wolf
Handtools
Hedge-shears
Secateurs
Grass-shears
Loppers
Tree Lopper
Tree care
Illumination, Ambiance
Battery-shears
Shredders
Saws
Grass-Trimmers
Reel-mowers
Spreaders / Portax
Irrigation
Scarifiers / Aerators
Mowers
Accu
Petrol
Electro
Without drive up to 38 cm
series 2
2.132 E
2.36 E
2.36 E
2.32 E
2.32 E
2.36 E
2.36 E
2.32 E
2.32 E
2.32 EP
2.38 E
2.36 EK
2.32 E
2.36 E
2.36 E
2.38 E
2.34 CPK
2.36 EK
2.36 E
2.36 E
2.36 E
2.36 XC
2.32 E
Data Sheet
Chassis
Axle, Wheels, Height-adjustment
Handlebar, Switch
Motor, Blade
2.32 E
2.32 E
2.38 E
2.38 E
2.32 E-1
2.32 E-1
series 4
series 6
Picco
Premio
Power Edition
Esprit
Compact Plus
Others
Without drive from 40 cm on
Drive
Ride-on Mowers
Petrol engines
Optional extras
Terms and Conditions
(C) by motoruf