back to
>
Scarifiers / Aerators
>
Scarifiers
>
Petrol
>
UV 40 H
>
Motor, Roller
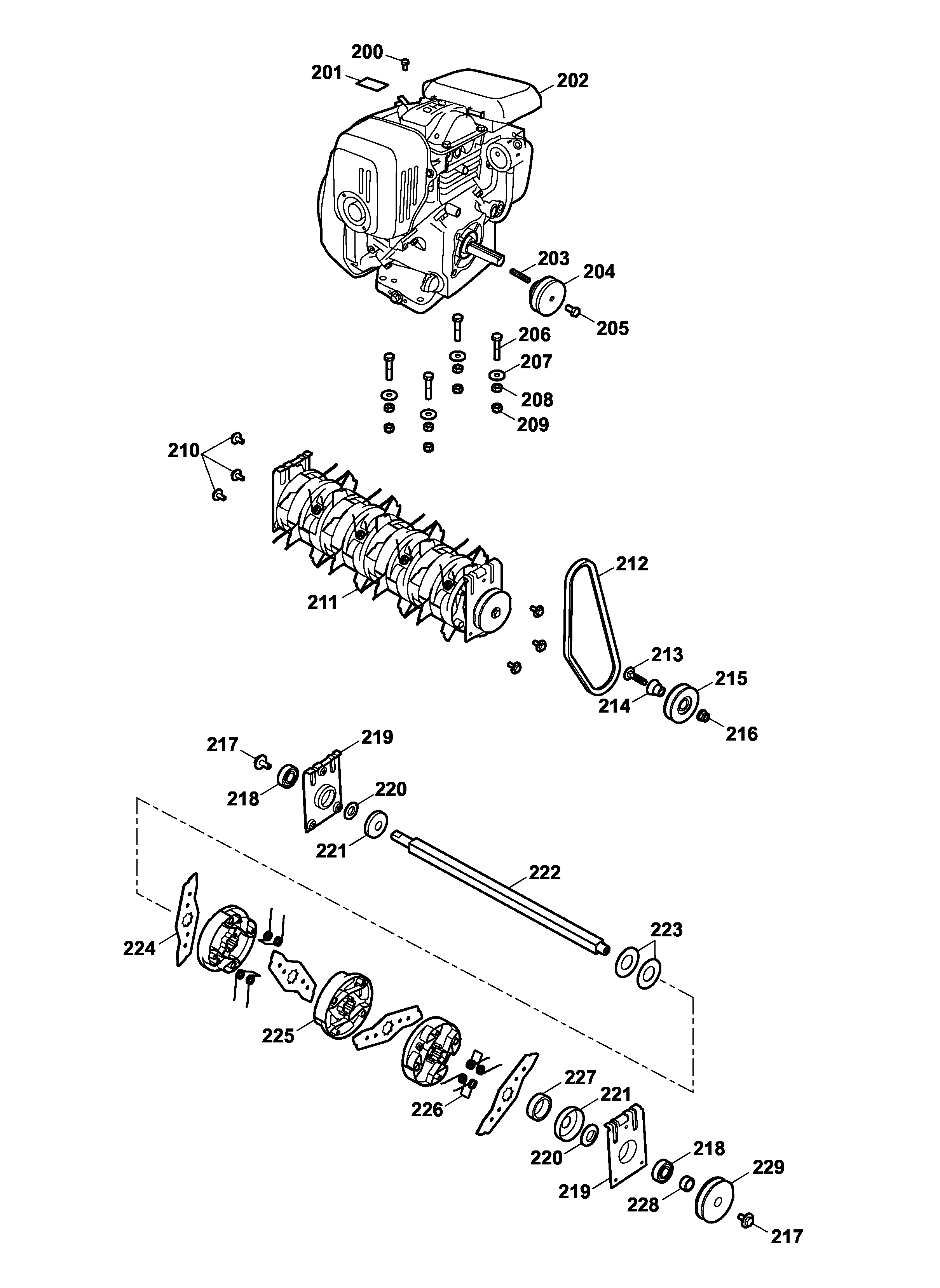
Spare Parts Lists for Wolf Scarifiers / Aerators Motor, Roller
pos.
decription
spare part number
200
Screw
0010 361
201
Label "Transport"
3635 206
202
Motor Honda GCV 135
2092 000
203
Woodruff Key
0028 775
204
V-Belt Pulley
3635 128
205
Screw
0010 010
206
Screw
0010 310
207
Washer
0017 291
208
Self Locking Nut M8 Din 985 Ci.8
0016 213
209
Hex. Nut
0016 312
210
Screw
0010 681
211
Roller Compl.
3640 060
212
Drive Belt 42Cm
0039 227
213
Screw
0013 655
214
axis for tension pulley, inner
3635 110
215
tension pulley, inner
3635 108
216
Nut
0016 385
217
Screw
0010 892
218
Bearing
0023 148
219
Bearing Shell
3568 017
220
Ring
3568 512
221
Cover
3568 509
222
Shaft
3635 120
223
Belleville Spring Washer
0022 850
224
Blade Set
3640 097
225
distance bush
3635 319
226
replacement springs UV-EFF 40
3640 098
227
Distance Bush
3640 302
228
Spacer
3635 111
229
V-Belt Pulley
3635 112
Lists
Wolf
Handtools
Hedge-shears
Secateurs
Grass-shears
Loppers
Tree Lopper
Tree care
Illumination, Ambiance
Battery-shears
Shredders
Saws
Grass-Trimmers
Reel-mowers
Spreaders / Portax
Irrigation
Scarifiers / Aerators
Scarifiers
Hand
Electro
Petrol
UV 32 B
UV 32 B
UV 32 B
UR-K
UV 38 B
UV 38 BX
UV-P
UV 32 B
UV 35 B
UV 40 H
Data Sheet
Chassis
Axle, Wheels
Handlebar, Switch
Motor, Roller
grass collector
Aerator
Mowers
Ride-on Mowers
Petrol engines
Optional extras
Terms and Conditions
(C) by motoruf