back to
>
Mowers
>
Electro
>
Without drive from 40 cm on
>
series 6
>
6.40 E
>
Motor cover, Motor, Blade
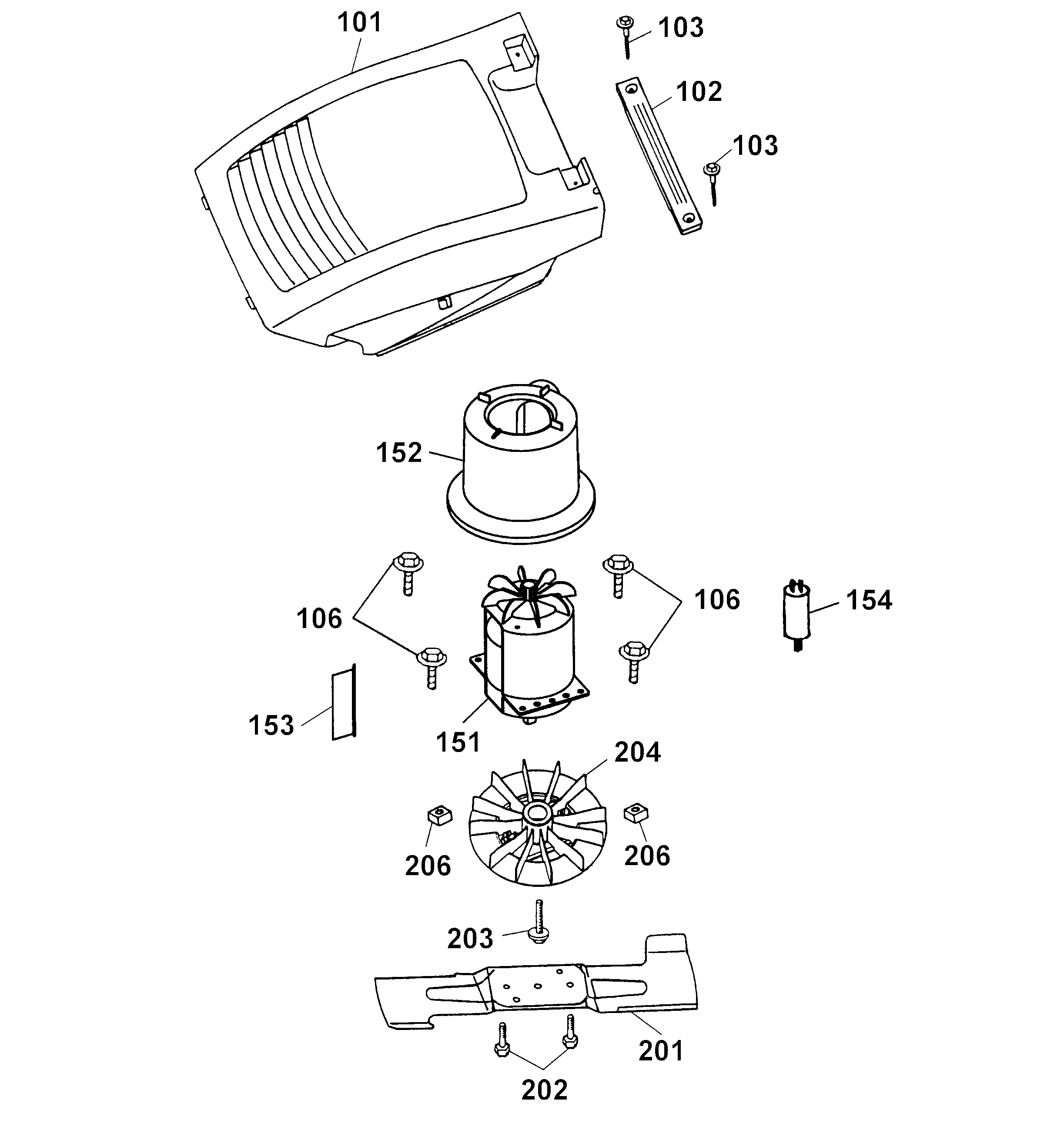
Spare Parts Lists for Wolf Mowers Motor cover, Motor, Blade
pos.
decription
spare part number
101
cover
4961 301
102
Handle
4961 303
103
Screw
0012 639
106
Screw
0012 618
151
Motor Compl. With Condenser
1141 080
152
Air Conduction
4961 326
153
Foil
1141 300
154
Condenser
1133 030
201
Blade
4961 095
202
Screw
0010 385
203
Screw
0010 403
204
Aerator
4961 036
206
Nut
0016 409
Lists
Wolf
Handtools
Hedge-shears
Secateurs
Grass-shears
Loppers
Tree Lopper
Tree care
Illumination, Ambiance
Battery-shears
Shredders
Saws
Grass-Trimmers
Reel-mowers
Spreaders / Portax
Irrigation
Scarifiers / Aerators
Mowers
Accu
Petrol
Electro
Without drive up to 38 cm
Without drive from 40 cm on
series 2
series 4
series 6
6.42 E
6.42 E
6.42 E
6.40 E
6.40 E
Data Sheet
Chassis
Axle, Wheels, Height-adjustment
Handlebar, Switch
Motor cover, Motor, Blade
Grass collector Premio
MK 40
6.40 E
Concept
Premio
Power Edition
Esprit
Others
Compact Plus
Drive
Ride-on Mowers
Petrol engines
Optional extras
Terms and Conditions
(C) by motoruf