back to
>
Mowers
>
Electro
>
Without drive up to 38 cm
>
series 2
>
2.36 E
>
Motor covering, Motor, Blade
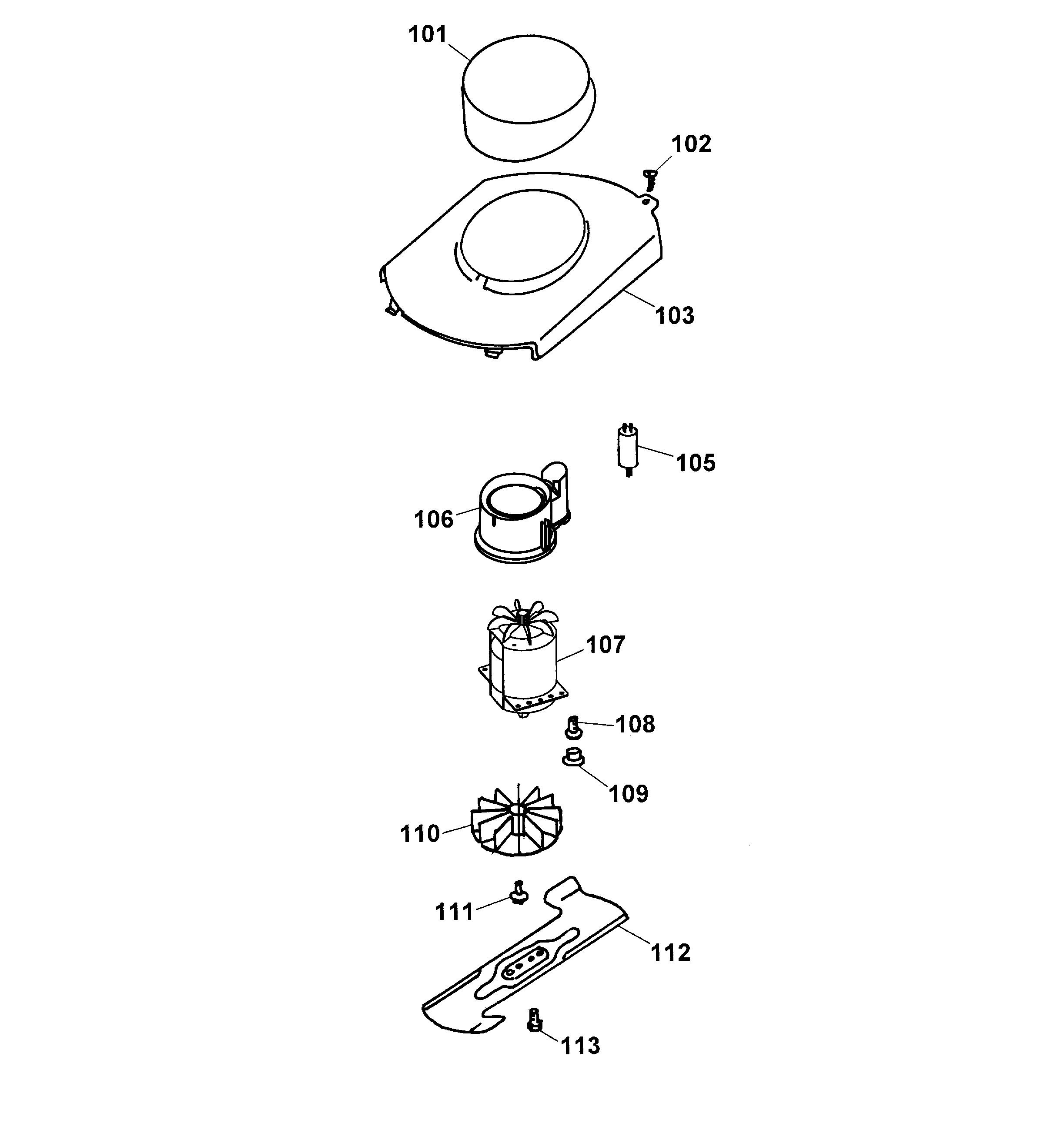
Spare Parts Lists for Wolf Mowers Motor covering, Motor, Blade
pos.
decription
spare part number
101
Motor Covering
4936 305
102
Screw
0012 625
103
Chassis Cover
4906 302
105
Condenser, 16 µF
1117 030
106
Air-Conduction
4932 308
107
Motor,Premio32E(2004)
1141 010
108
Screw
0012 952
109
Insert-Grip
4936 308
110
Fan Complete
4936 027
111
Screw
0010 680
112
Blade
4936 090
113
Hex. Screw M6X16
0010 366
Lists
Wolf
Handtools
Hedge-shears
Secateurs
Grass-shears
Loppers
Tree Lopper
Tree care
Illumination, Ambiance
Battery-shears
Shredders
Saws
Grass-Trimmers
Reel-mowers
Spreaders / Portax
Irrigation
Scarifiers / Aerators
Mowers
Accu
Petrol
Electro
Without drive up to 38 cm
series 2
2.132 E
2.36 E
2.36 E
2.32 E
2.32 E
2.36 E
2.36 E
2.32 E
2.32 E
2.32 EP
2.38 E
2.36 EK
2.32 E
2.36 E
2.36 E
Data Sheet
Chassis
Axle, Wheels, Height-adjustment
Handlebar, Switch
Motor covering, Motor, Blade
2.38 E
2.34 CPK
2.36 EK
2.36 E
2.36 E
2.36 E
2.36 XC
2.32 E
2.32 E
2.32 E
2.38 E
2.38 E
2.32 E-1
2.32 E-1
series 4
series 6
Picco
Premio
Power Edition
Esprit
Compact Plus
Others
Without drive from 40 cm on
Drive
Ride-on Mowers
Petrol engines
Optional extras
Terms and Conditions
(C) by motoruf