back to
>
Ride-on Mowers
>
Trac
>
OHV 6
>
Trac OHV 6
>
engine
Spare Parts Lists for Wolf Ride-on Mowers engine
pos.
decription
spare part number
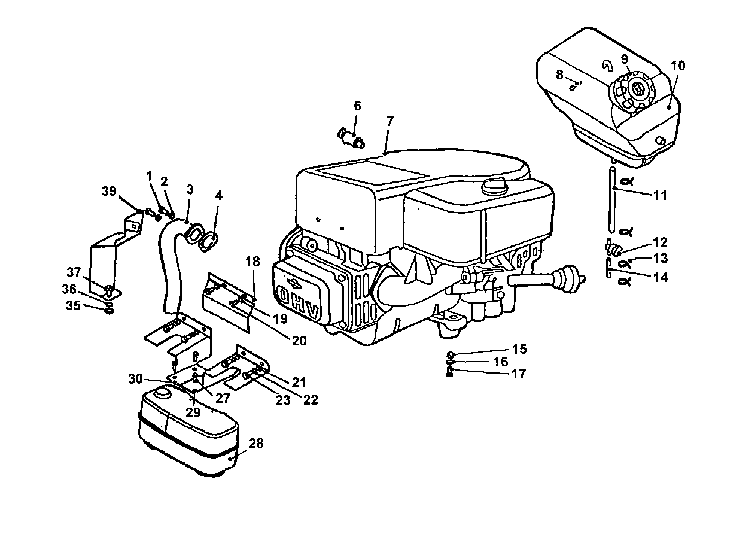
1
Exhaust Screw 5/16-18Unc-3/4Lg
6205 123
2
Washer Spring
0017 909
3
Exhaust Tube
6200 552
4
Exhaust Gasket 15.5 Hp
6200 351
6
Oil Drain Valve 7409
6205 049
7
Engine, 15.5 Hp 28 N707-1132
1001 000
8
Clip
6205 107
9
Fuel Tank Cap
6205 323
10
Fuel Tank
6205 315
11
Fuel Line 240Mm
6200 335
12
Fuel Tank Valve
6205 143
13
Spring Clip Um 5008
6205 142
14
Fuel Line 70Mm
6200 345
15
Hex. Nut
0016 312
16
Washer A 8,4 Din 125
0017 123
17
Hex Screw M8X35 Din 933 8.8
6205 569
17
Hex Flange Bolt M8X35 Din 6921 8.8
6205 581
18
Front Cover
6200 101
19
Flat Washer 6.6 Zinc
6205 567
20
Taptite Thread Form Screw 1/4"-20 - 1/2
6205 548
21
Washer A 8,4 Din 125
0017 123
22
Washer Spring
0017 909
23
Hex Screw M8 X 20 Din 933 8.8
0010 402
27
Taptite Thread Form Screw 1/4"-20 - 1/2
6205 548
28
Muffler
6200 350
29
Muffler Guard Left
6205 486
30
Muffler Guard Right
6205 487
35
Nut
0016 211
36
Washer Spring
0017 908
37
Screw
0010 400
39
Exhaust Manifold Cover
6200 102
*1
Fuel Tank Compl. With Cap
6205 034
Lists
Wolf
Handtools
Hedge-shears
Secateurs
Grass-shears
Loppers
Tree Lopper
Tree care
Illumination, Ambiance
Battery-shears
Shredders
Saws
Grass-Trimmers
Reel-mowers
Spreaders / Portax
Irrigation
Scarifiers / Aerators
Mowers
Ride-on Mowers
Scooter
Cart
Trac
OHV 6
Trac OHV 6
Data Sheet
engine
front axle
steering
transmission drive
operation mower / lift
operation brake
operation change gear
cutting pan mower housing compl.
cutting pan drive system
chute collector assembly
grass collector assembly
body assembly - fender / seat
body assembly hood
wiring harness compl.
electrical switches (1)
electrical switches (2)
decals / labels
gear1
gear2
Diamond I/C OHV
Trac OHV 6
Trac OHV 6
OHV 7
Gear
Petrol engines
Optional extras
Terms and Conditions
(C) by motoruf