Shopping Basket
Your Account

Determine Chain

Order Chainsaws according to their profile

If your chainsaw model should not be included in the manufacturer's list, you can determine the measures using the following formula:

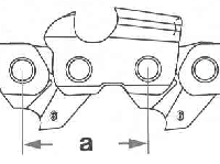
Pitch

Pitch of Your chainsaw:

Take the distance from the middle of one riveted bolt to the middle of the next but one and divide the result by two. This is the pitch in millimeters which is internationally stated in inches.
Groove Gauge

groove gauge:

As for 3/8 hobby chains 1.3 mm and less frequent 1.1 mm occur. As for 325 and 3/8, 1.3 mm, 1.5 mm and 1.6 mm occur (1.6 mm for ).

The number of the Drive Links

Drive Links:

Please count the number of the drive links on your chain.
Please indicate your chainsaw model:

Bankeinzug, MasterCard, Visa, American Express, PayPal, Nachnahme, Vorauskasse, Sofortüberweisung
Report Error
Help us to improve this site. Notify us if something is wrong here.