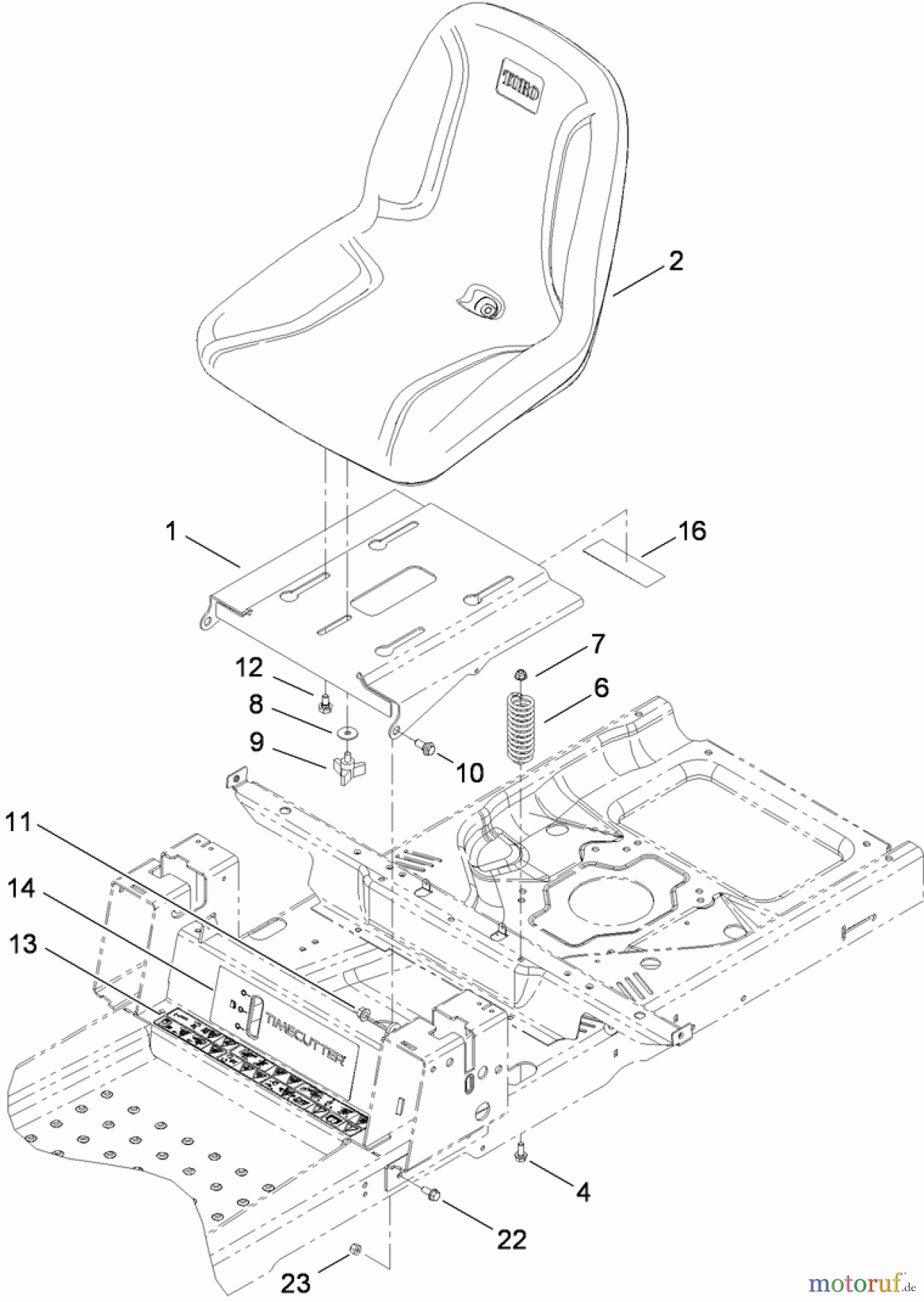
Toro 74381 (Z4202) - TimeCutter Z4202 Riding Mower, 2010 (310000001-310999999) SEAT ASSEMBLY Spareparts
Sitzfeder
Article Number:
TR92-7054
Pos:
6
42.54 €
for EU Including VAT, plus shipping
Article added to Cart!
Will be ordered for you: delivery time approx. 5 working days.





