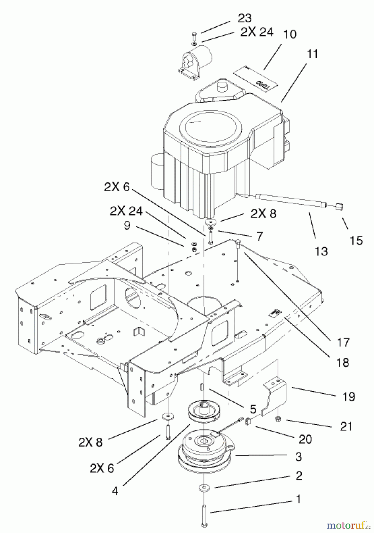
Toro 74601 (Z17-44) - Z17-44 TimeCutter Z Riding Mower, 2002 (220000913-220999999) ENGINE AND CLUTCH ASSEMBLY Spareparts
ENGINE AND CLUTCH ASSEMBLY 74601 (Z17-44) - Toro Z17-44 TimeCutter Z Riding Mower, 2002 (220000913-220999999)



Report Error
Help us to improve this site. Notify us if something is wrong here.


