back to
>
Roth / TORO
>
Ride-On Mowers
>
Traktor
>
12-38 XL
>
391/71202
>
5900001
>
Clutch Assy.
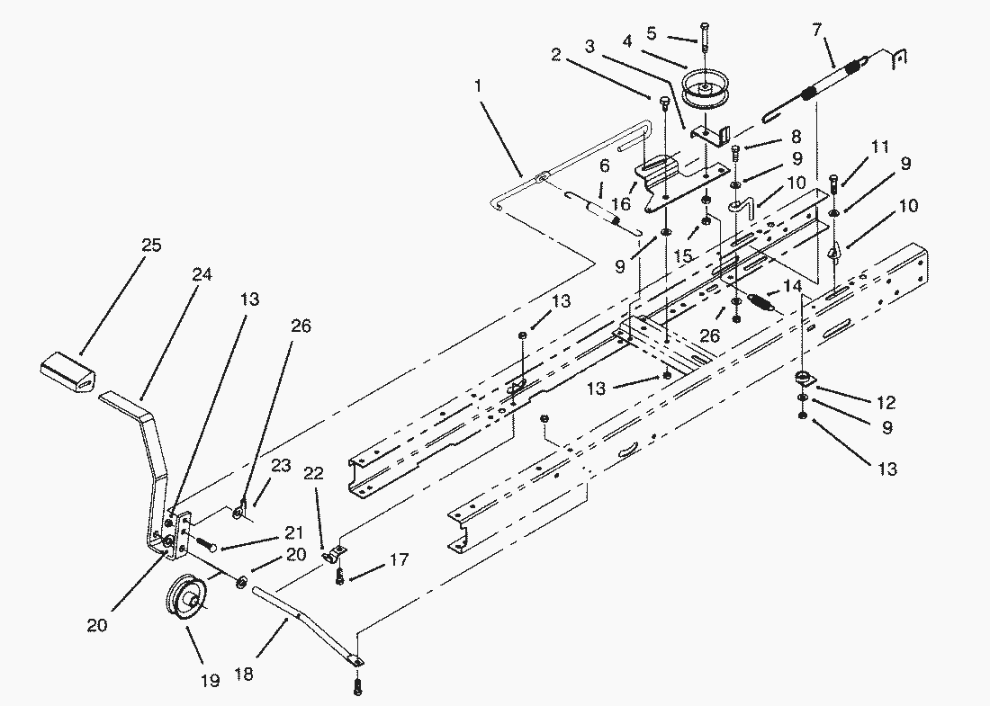
Spare Parts Lists for Toro Roth / TORO Clutch Assy.
pos.
decription
spare part number
1
Rod-Clutch/Brake
88-5270
2
Shoulder Bolt
37-8770
3
Guide-Idler Belt
88-5560
4
Pulley-Flat Idler
88-5680
5
Hex Hd. Capscrew
323-11
6
Spring-Return
27-8890
7
Spring-Brake
88-6140
8
Hex Hd. Capscrew
322-5
9
Washer
5-4460
10
Guide-Trans. Belt
88-5460
11
Capscrew
322-7
12
Guide-Cable
84-5610
13
MUTTER
3296-29
14
Spring-Extension
88-6330
15
Nut-Lock
3296-59
16
Arm-Idler
88-6070
17
Capscrew
322-3
18
Rod-Pedal Pivot
88-5500
19
Pulley-Cable
88-4700
20
Washer
3256-26
21
Carriage Bolt
3230-3
22
Clamp-Shift Pivot
88-4810
23
Pin-Cotter
3272-10
24
Pedal-Clutch/Brake
88-5000
25
Pad-Pedal
65-2920
26
Washer
3256-23
Lists
Toro
Roth / TORO
Ride-On Mowers
Traktor
264-6
246 HE
244-5
212-H
212-5
17-44 HXLE
16-44 HXL
16-38 HXL
16-38 XLE
15-44 HXL
15-38 HXL
14-38 HXL
14-38 XL
13-38 HXL
13-38 XL
13-32 XLE
12-38 HXL
12-38 XL
391/71202
5900001
Peerlesss Transaxle Model No. 915-020 (Cont.)
Peerlesss Transaxle Model No. 915-020
Engine B&S Model 286707-0453-01
HOC Assy.
Transaxle Assy.
Electrical Assy.
Shift Assy.
Clutch Assy.
Engine Assy.
Steering Assy.
Front Axle Assy.
Seat Assy.
Hood Assy.
Frame Assy.
4900001
3900001
12-32 XL
264 H
265 H
267 H
268 H
270 H
520 xi
520 Lxi
523 Dxi
Rider
Mower decks
Attachements
Hand operated
Robin
Terms and Conditions
(C) by motoruf