.com
Home
Contact
About
Guestbook
Shipping Costs
Terms and Privacy
SPAREPARTS
Search by Part Number
Diagrams & Parts Lists
Gardening & Forestry
Industry & Shop
Chainsaw Chains
Guide Bars
Sprocket Rims
CATALOG
Mowing, trimming
Engine parts
Workshop
Components
Forestry
Electrical items
Winter items
V-belts / Pulleys
Filters
Toys
Agricultural Parts
Topseller
SERVICE
We search for You
Determine Chain
Your Account
Log in
Register
Settings
DE
EN
FR
ES
IT
PC Version
Echo 99944200485 - Hedge Trimmer Attachment Main Pipe Assembly, Driveshaft Spareparts
Start
Echo
Trimmer Zubehör
99944200485 - Echo Hedge Trimmer Attachment
Main Pipe Assembly, Driveshaft
Main Pipe Assembly, Driveshaft 99944200485 - Echo Hedge Trimmer Attachment
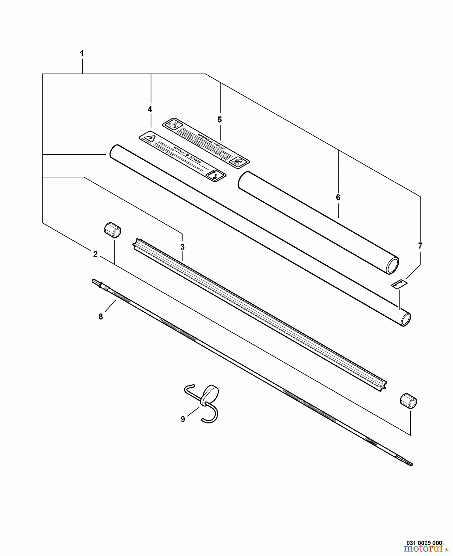
Pos
Article Number
Description
1
16C050000800
2
16-610246-44730
Führung HCA-2400
3
16C507000270
4
1689017854331
5
1689018721460
6
16-351012-21560
Griff Anbau-Hochentaster,
7
16-890152-04930
Aufkleber
8
16-610013-21962
Biegsame Welle Hochentaster
9
1699944200631
Report Error
Help us to improve this site. Notify us if something is wrong here.