.com
Shopping Basket
empty
Your Account
Log in
Register
Home
Contact
About
Guestbook
Shipping Costs
Terms and Privacy
SPAREPARTS
Search by Part Number
Diagrams & Parts Lists
Gardening & Forestry
Industry & Shop
Chainsaw Chains
Guide Bars
Sprocket Rims
CATALOG
Mowing, trimming
Engine parts
Workshop
Components
Forestry
Electrical items
Winter items
V-belts / Pulleys
Filters
Toys
Agricultural Parts
Topseller
SERVICE
We search for You
Determine Chain
DE
EN
FR
ES
IT
Mobile
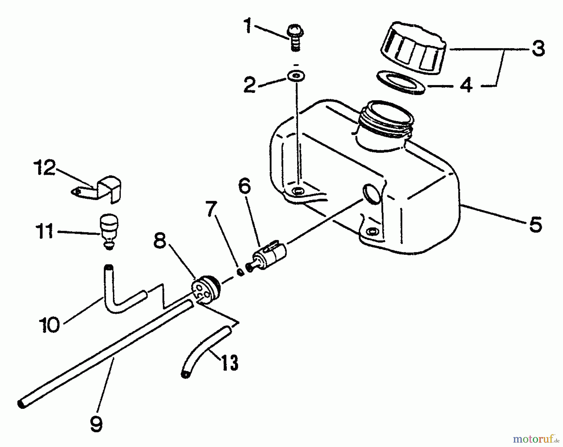
Echo HC-1001 - Hedge Trimmer, S/N: 024001 - 999999 Fuel System Spareparts
Start
Echo
Heckenscheren
HC-1001 - Echo Hedge Trimmer, S/N: 024001 - 999999
Fuel System
Fuel System HC-1001 - Echo Hedge Trimmer, S/N: 024001 - 999999
Pos
Article Number
Description
1
16-900238-05016
Schraube 5*16
2
16-900603-00005
Scheibe(Eisen) CS-2600/PB-250/
3
16-131004-55830
Tankdeckel HC-1500, HC-2400,
4
16-131016-40930
Dichtung ES-2000, HC-2100,
5
1613100506461
6
16-131205-07321
Benzinfilter CS-3500/2600,SRM-
7
16-132013-09820
Clip CS-2600/-3700/SRM-250/GT-
8
16-132115-46730
Dichtring HC-1500/HCR-1500/
9
16-V471-001190
Benzinleitung (Gummi) SRM-
10
16-132717-50430
Benzinleitung(Gummi)
11
16-131300-56430
Entlüftungsventil CS-3500-1/
12
1613132304560
13
16-132010-06460
Benzinleitung HC-2100, HCR-
Report Error
Help us to improve this site. Notify us if something is wrong here.