.com
Shopping Basket
empty
Your Account
Log in
Register
Home
Contact
About
Guestbook
Shipping Costs
Terms and Privacy
SPAREPARTS
Search by Part Number
Diagrams & Parts Lists
Gardening & Forestry
Industry & Shop
Chainsaw Chains
Guide Bars
Sprocket Rims
CATALOG
Mowing, trimming
Engine parts
Workshop
Components
Forestry
Electrical items
Winter items
V-belts / Pulleys
Filters
Toys
Agricultural Parts
Topseller
SERVICE
We search for You
Determine Chain
DE
EN
FR
ES
IT
Mobile
Echo HC-2400 - Hedge Trimmer (Type 2E) Gear Case, Blades, Tools Spareparts
Start
Echo
Heckenscheren
HC-2400 - Echo Hedge Trimmer (Type 2E)
Gear Case, Blades, Tools
Gear Case, Blades, Tools HC-2400 - Echo Hedge Trimmer (Type 2E)
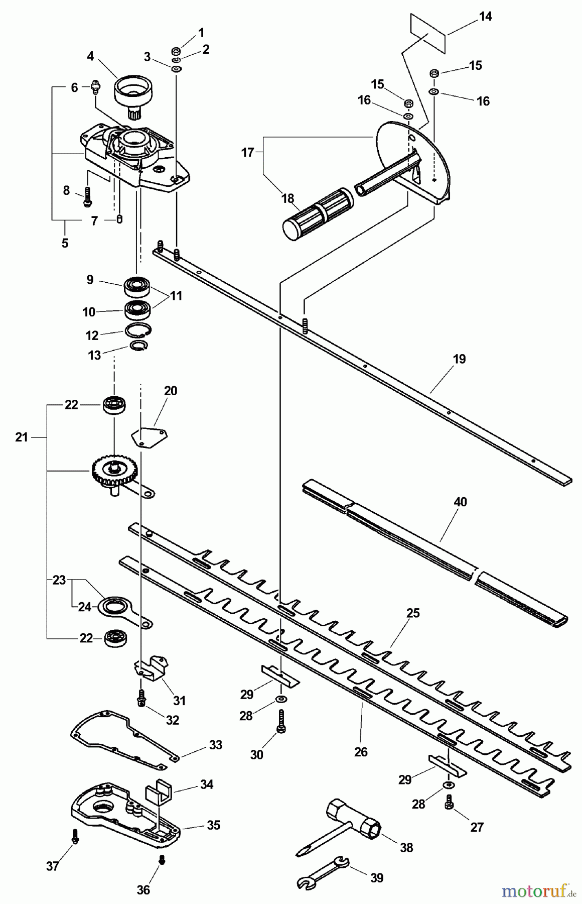
Pos
Article Number
Description
1
16-900500-00006
Mutter HC-2400, HCR-1500, PB-
2
16-900605-00006
Scheibe SHR-150SI/-170SI
3
16-900600-00006
Scheibe
4
16-175005-08960
Kupplungstrommel
4
16-175003-01261
Kupplungstrommel(incl.Circlip)
5
1661040608960
5
1661040708962
6
16-880110-10860
Schmiernippel M6 HCA-2410,
7
16-V622-000020
Stift
8
16-900162-05030
Schraube CS-3500,-3501, SRM-
9
1690085606904
9
16-900857-06904
Kugellager
10
16-900855-06904
Kugellager
11
16-900802-06003
Kugellager
12
16-900702-00037
Seegerring, innen, 37mm (10)
12
16-900702-00035
Seegerring, innen, 35mm
13
16-900701-00019
Seegerring außen 19mm (10) HC-
13
16-900701-00016
Seegering
14
1689022809560
14
16X505000270
14
1689031705160
15
16-433022-06460
Sicherungsmutter M6*1
16
16-900603-00006
U-Scheibe HC-2400, PB-46LN,
17
16-351200-02060
Vorderer Griff kpl. HC-2100
18
16-351012-01260
Griff HC-2100
19
16-X425-000100
Messerhalter HC-2410, HC-2400
20
1699999999999
20
16-610440-08960
Messersicherung HC-2410
21
16-610302-08961
Getriebesatz HC-2400
21
16-610302-09661
Getriebesatz HC-2400, HC-2410
22
16-900810-06200
Kugellager
23
16-610307-01261
Antrieb mit Lager HC-2300 /
24
16-610327-01261
Nadellager HC-2300, HC-2410,
25
16X411000180
25
16-X411-000080
Messer, oben HC-2400
26
16X411000190
26
16-X411-000090
Messer, unten HC-2400
27
16-699115-02062
Schraube
28
16-699118-01261
Scheibe 15,5x7,8x1,7 mm
29
16-699213-02063
Messerführungsblech 7,5MM
30
16-351027-02060
Bolzen HC-2300/2400/2410, HC-
31
16-610441-02060
Schutz
31
16-610441-08960
Messersicherung HC-2410
32
16-900162-05014
Schraube M 5x14
33
16-610414-01260
Dichtung, Gummi
34
16-610426-01260
Filzdichtung
35
16-610431-08961
Getriebedeckel HC-2410/2400
36
16-900242-04014
Schraube 4x14(Eisen)
37
16-900242-04022
Schraube CS-3500
38
16-895410-06960
Kombischlüssel
39
16-895112-00330
Gabelschlüssel PPT-300ES
40
16-898523-02961
Transportschutz HC-30ES / 2300
168890008560
Report Error
Help us to improve this site. Notify us if something is wrong here.