.com
Shopping Basket
empty
Your Account
Log in
Register
Home
Contact
About
Guestbook
Shipping Costs
Terms and Privacy
SPAREPARTS
Search by Part Number
Diagrams & Parts Lists
Gardening & Forestry
Industry & Shop
Chainsaw Chains
Guide Bars
Sprocket Rims
CATALOG
Mowing, trimming
Engine parts
Workshop
Components
Forestry
Electrical items
Winter items
V-belts / Pulleys
Filters
Toys
Agricultural Parts
Topseller
SERVICE
We search for You
Determine Chain
DE
EN
FR
ES
IT
Mobile
Echo HC-2410 - Hedge Trimmer (Type 1E) Gear Case, Blades Spareparts
Start
Echo
Heckenscheren
HC-2410 - Echo Hedge Trimmer (Type 1E)
Gear Case, Blades
Gear Case, Blades HC-2410 - Echo Hedge Trimmer (Type 1E)
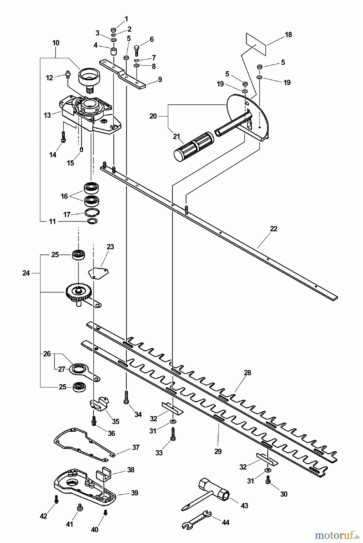
Pos
Article Number
Description
1
16-900500-00006
Mutter HC-2400, HCR-1500, PB-
2
16-900605-00006
Scheibe SHR-150SI/-170SI
3
16-900600-00006
Scheibe
4
16-699111-08960
Messerführung HC-2410
5
16-433022-06460
Sicherungsmutter M6*1
6
16-900100-06010
Schraube
7
16-900605-00006
Scheibe SHR-150SI/-170SI
8
16-900600-00006
Scheibe
9
16-699213-08960
Messerführungsblech HC-40ES
10
16-175003-01261
Kupplungstrommel(incl.Circlip)
11
16-900701-00016
Seegering
12
16-880110-10860
Schmiernippel M6 HCA-2410,
13
16-610410-05960
Getriebegehäuse
13
16-610406-08560
Getriebegehäuse HC-2400 HC-
13
16-610407-08562
Getriebegehäuse HC-2400
14
16-900162-05030
Schraube CS-3500,-3501, SRM-
15
16-V622-000020
Stift
16
16-900802-06003
Kugellager
17
16-900702-00035
Seegerring, innen, 35mm
18
1689017740630
19
16-900603-00006
U-Scheibe HC-2400, PB-46LN,
20
16-351200-02060
Vorderer Griff kpl. HC-2100
21
16-351012-01260
Griff HC-2100
22
16-X425-000100
Messerhalter HC-2410, HC-2400
22
16-X425-000050
Messerhalter HC-2410
23
1699999999999
23
16-610440-08960
Messersicherung HC-2410
24
16-610302-01261
Zsb. Getriebe HC-2300, HC-
24
16-610302-09660
Getriebesatz HC-2400
25
16-900810-06200
Kugellager
26
16-610307-01261
Antrieb mit Lager HC-2300 /
27
16-610327-01261
Nadellager HC-2300, HC-2410,
28
16X411000180
28
16-697010-08960
Obermesser HC-2410
28
16-X411-000150
Schneidmesser HC-2410
29
16X411000190
29
16-697011-08960
Untermesser HC-2410
29
16-X411-000100
Schneidmesser HC-2410
30
16-699115-02062
Schraube
31
16-699118-01261
Scheibe 15,5x7,8x1,7 mm
32
16-699213-02063
Messerführungsblech 7,5MM
33
16-351027-02060
Bolzen HC-2300/2400/2410, HC-
34
16-699115-08960
Messerschraube SHCSB-SRM
35
16-610441-02060
Schutz
35
16-610441-08960
Messersicherung HC-2410
36
16-900162-05014
Schraube M 5x14
37
16-610414-01260
Dichtung, Gummi
38
16-610426-01260
Filzdichtung
39
16-610411-05961
Getriebedeckel
39
16-610431-08961
Getriebedeckel HC-2410/2400
40
16-900242-04014
Schraube 4x14(Eisen)
41
16-900100-08008
Schraube(Eisen) (10)
42
16-900242-04022
Schraube CS-3500
43
16-895410-06960
Kombischlüssel
44
16-895112-00330
Gabelschlüssel PPT-300ES
1688900008460
Report Error
Help us to improve this site. Notify us if something is wrong here.