.com
Shopping Basket
empty
Your Account
Log in
Register
Home
Contact
About
Guestbook
Shipping Costs
Terms and Privacy
SPAREPARTS
Search by Part Number
Diagrams & Parts Lists
Gardening & Forestry
Industry & Shop
Chainsaw Chains
Guide Bars
Sprocket Rims
CATALOG
Mowing, trimming
Engine parts
Workshop
Components
Forestry
Electrical items
Winter items
V-belts / Pulleys
Filters
Toys
Agricultural Parts
Topseller
SERVICE
We search for You
Determine Chain
DE
EN
FR
ES
IT
Mobile
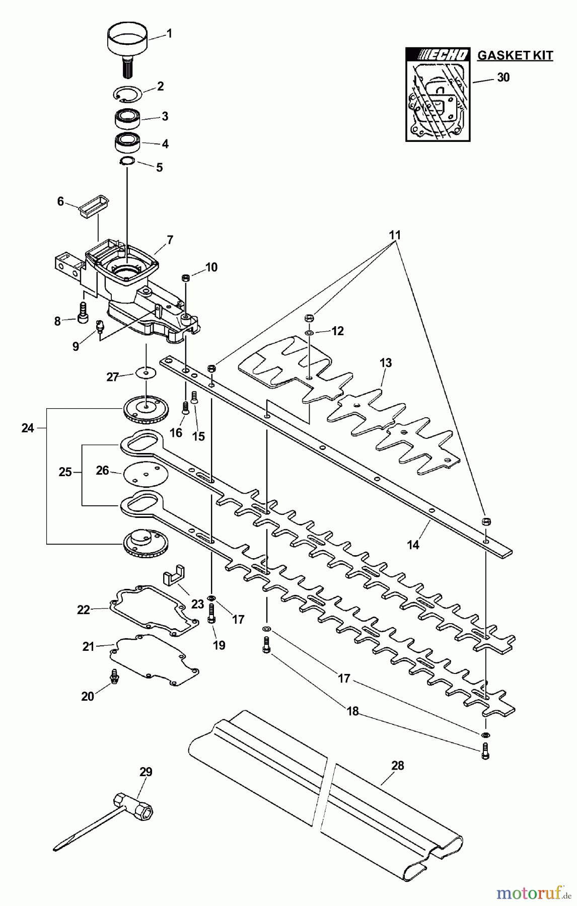
Echo HCR-150 - Hedge Trimmer, S/N: 05001001 - 05999999 Cutters, Gear Case, Tools Spareparts
Start
Echo
Heckenscheren
HCR-150 - Echo Hedge Trimmer, S/N: 05001001 - 05999999
Cutters, Gear Case, Tools
Cutters, Gear Case, Tools HCR-150 - Echo Hedge Trimmer, S/N: 05001001 - 05999999
Pos
Article Number
Description
1
16-175005-06560
Kupplungstrommel HC-1500 ab
2
16-900702-00035
Seegerring, innen, 35mm
3
16-900872-36202
Kugellager HC-1500
4
16-900870-36202
Kugellager HC-1500
5
16-900701-00014
Seegerring außen 14mm
6
16-131920-61830
Gummilager, Tank SHR-150SI/-
7
16C531000052
8
16-900163-04016
Schraube
9
16-880110-54230
Schmiernippel HC-1500 ab S-Nr.
10
16-900500-00006
Mutter HC-2400, HCR-1500, PB-
11
16-433022-06460
Sicherungsmutter M6*1
12
16-699118-04560
Scheibe 15,5x6,5x0,7mm HC-2410
13
1669912503061
14
16-X425-000180
Messerhalter 640MM HC-1500 ab
15
16-900212-05030
Schraube
16
16-900212-06030
Schraube
17
16-699118-04560
Scheibe 15,5x6,5x0,7mm HC-2410
18
16-699115-04660
Messerschraube 18mm HC-1600
19
16-699115-06560
Messerschraube HC-1500 ab
20
16-900162-04012
Schraube M4x12 CS-2600
21
16-610411-06561
Gehäusedeckel unten HC-1500 ab
22
16-610414-06560
Gehäusedichtung HC-1500 ab
23
16-610426-06560
Filzdichtung HC-1500 ab Serie
24
16V650000250
25
16-X411-000270
Schneidmesser Länge üa 715mm
26
16-689025-05360
Scheibe 6,7x54x0,38
27
16-689025-06560
Unterlagscheibe
28
16X495000011
29
16-895410-06960
Kombischlüssel
30
16-P021-001612
Vergaserdichtung HC-341ES
30
16P021004710
Report Error
Help us to improve this site. Notify us if something is wrong here.