.com
Home
Contact
About
Guestbook
Shipping Costs
Terms and Privacy
SPAREPARTS
Search by Part Number
Diagrams & Parts Lists
Gardening & Forestry
Industry & Shop
Chainsaw Chains
Guide Bars
Sprocket Rims
CATALOG
Mowing, trimming
Engine parts
Workshop
Components
Forestry
Electrical items
Winter items
V-belts / Pulleys
Filters
Toys
Agricultural Parts
Topseller
SERVICE
We search for You
Determine Chain
Your Account
Log in
Register
Settings
DE
EN
FR
ES
IT
PC Version
Echo CS-3900 - Chainsaw Carburetor Spareparts
Start
Echo
Sägen, Kettensägen
CS-3900 - Echo Chainsaw
Carburetor
Carburetor CS-3900 - Echo Chainsaw
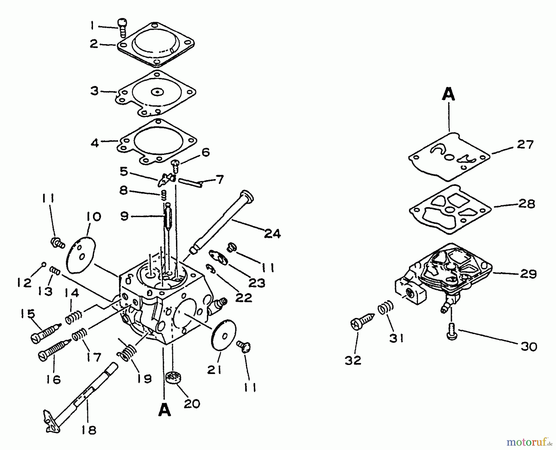
Pos
Article Number
Description
16-123000-37332
Vergaser Walbro WT118A CS-3900
1
16
16
2
16-123142-03930
Deckel CS-2600/3700/SRM-320/
3
16
16
4
16
16
5
16
16
6
16
16
7
16
16
8
16
16
9
16
16
10
16-123116-10530
Drosselklappe CS-3700/350/350T
11
16-123114-03930
Schraube
12
16-123136-10630
Kugel, CS-3700
13
16-123135-10630
Feder CS-3700
14
16
16
15
16-123120-37330
Einstellschraube
16
16-123118-37330
Einstellschraube
17
16-123121-22130
Feder CS-2600,3700
18
16-123117-35430
Gasgestänge
19
16-123113-37530
Feder CS-2600/3700/452GS
20
16
16
21
16-123132-37330
Ventil CS-3700
22
16-123127-03930
Klipp CS-3700
23
16-123150-35430
Klappe
24
16-123131-35430
Chokegestänge CS-3700
27
16
16
28
16
16
29
16-123124-35430
Gehäusedeckel
30
16-123110-03930
Schraube CS-2600/3700/452GS/
31
16
16
32
16-123134-04260
Einstellschraube
1612310037330
16-123101-37330
Membransatz CS-3900
Report Error
Help us to improve this site. Notify us if something is wrong here.