.com
Shopping Basket
empty
Your Account
Log in
Register
Home
Contact
About
Guestbook
Shipping Costs
Terms and Privacy
SPAREPARTS
Search by Part Number
Diagrams & Parts Lists
Gardening & Forestry
Industry & Shop
Chainsaw Chains
Guide Bars
Sprocket Rims
CATALOG
Mowing, trimming
Engine parts
Workshop
Components
Forestry
Electrical items
Winter items
V-belts / Pulleys
Filters
Toys
Agricultural Parts
Topseller
SERVICE
We search for You
Determine Chain
DE
EN
FR
ES
IT
Mobile
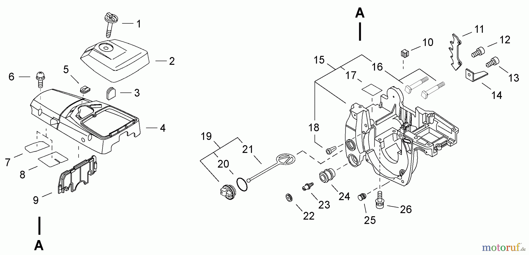
Echo CS-420ES - Chainsaw, S/N: 20001001 - 20999999 Engine Cover Spareparts
Start
Echo
Sägen, Kettensägen
CS-420ES - Echo Chainsaw, S/N: 20001001 - 20999999
Engine Cover
Engine Cover CS-420ES - Echo Chainsaw, S/N: 20001001 - 20999999
Pos
Article Number
Description
1
16-A235-000020
Rändelschraube, Luftfilter CS-
2
16-A232-000023
Luftfilterdeckel CS-510
3
16-130338-32430
Stopfen CS-3500,3700
4
16A160002290
5
16-V135-000010
Gummi CS-5100, 370ES, CS-510
6
16-900238-05020
Schraube 5x20
7
16-V341-000060
Platte, 363s
8
16-V341-000070
Platte, 363s
9
16-A209-000000
Flanschstück CS-370ES
10
16-150114-04920
Tülle
11
16-C304-000010
Kralle CS-370ES
12
16-91145-05020
Schraube CS-4200,4400,3700,
13
16-91145-05016
Schraube (10) CS-4200,5100,
14
16-C310-000000
Kettenfangbolzen CS-370ES, CS-
15
16P021009857
16
16-433011-19831
Schraube
17
16-V341-000050
Scheibe CS-370ES
18
16-436114-13930
Entlüftungsventil
19
16-P021-007630
ÖL-Benzintankdeckel CS-3000/
20
16-900721-00025
O-Ring CS-4200
21
16-A365-000050
Halter, Tankdeckel CS-3700ES/-
22
16-100918-15130
Abdeckung CS-2600
23
16-100915-33930
Schraube
24
16-100910-60030
Puffer CS-4200,3700
25
16-V420-001250
Puffer CS-370ES
26
16-900162-05030
Schraube CS-3500,-3501, SRM-
Report Error
Help us to improve this site. Notify us if something is wrong here.