.com
Shopping Basket
empty
Your Account
Log in
Register
Home
Contact
About
Guestbook
Shipping Costs
Terms and Privacy
SPAREPARTS
Search by Part Number
Diagrams & Parts Lists
Gardening & Forestry
Industry & Shop
Chainsaw Chains
Guide Bars
Sprocket Rims
CATALOG
Mowing, trimming
Engine parts
Workshop
Components
Forestry
Electrical items
Winter items
V-belts / Pulleys
Filters
Toys
Agricultural Parts
Topseller
SERVICE
We search for You
Determine Chain
DE
EN
FR
ES
IT
Mobile
Echo CS-4600 - Chainsaw, S/N: 0027192 - 0033240 Exhaust, Air Cleaner Spareparts
Start
Echo
Sägen, Kettensägen
CS-4600 - Echo Chainsaw, S/N: 0027192 - 0033240
Exhaust, Air Cleaner
Exhaust, Air Cleaner CS-4600 - Echo Chainsaw, S/N: 0027192 - 0033240
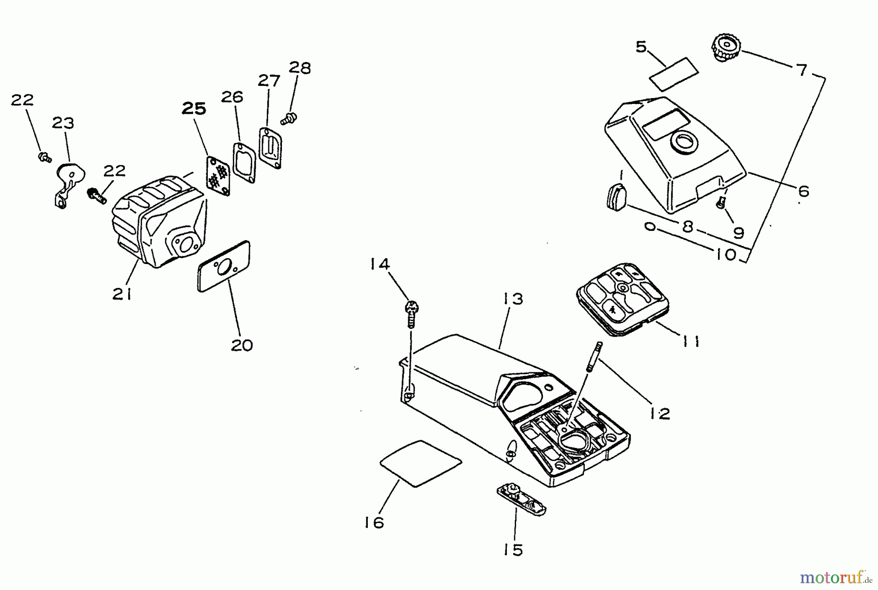
Pos
Article Number
Description
5
1689016133930
6
16-130302-33330
Luftfilterdeckel
7
16-130406-33331
Rändelschraube CS-5501/6701
8
16-130338-32430
Stopfen CS-3500,3700
9
16-130366-33330
Stopper
10
16-900720-00011
O-Ring CS-3900, CS-4601, CS-
11
16-130300-33330
Luftfilter CS-4601
11
1613030033830
12
16-130325-33330
Stehbolzen CS-5501/6701 ohne
13
16-101501-33330
Zylinderabdeckung
16
16-101520-33330
Abdeckung
14
16-900238-05020
Schraube 5x20
15
16-130822-33330
Filter CS-4601 Produktion
20
16-145510-19831
Dichtung
21
16-145610-33330
Auspuff
22
16-900105-05010
Schraube PPT-300ES
23
16-145711-33330
Halterung
26
16-145866-33331
Dichtung
25
16-145862-33930
Auspuffschutzgitter
27
16-145873-33930
Auspuffabdeckung
28
16-900238-04008
Schraube
Report Error
Help us to improve this site. Notify us if something is wrong here.