.com
Shopping Basket
empty
Your Account
Log in
Register
Home
Contact
About
Guestbook
Shipping Costs
Terms and Privacy
SPAREPARTS
Search by Part Number
Diagrams & Parts Lists
Gardening & Forestry
Industry & Shop
Chainsaw Chains
Guide Bars
Sprocket Rims
CATALOG
Mowing, trimming
Engine parts
Workshop
Components
Forestry
Electrical items
Winter items
V-belts / Pulleys
Filters
Toys
Agricultural Parts
Topseller
SERVICE
We search for You
Determine Chain
DE
EN
FR
ES
IT
Mobile
Echo TC-210 - Tiller/Cultivator, S/N: E14013001001 - E14013999999 Engine Cover, Starter Spareparts
Start
Echo
Motorhacken / Kultivierer
TC-210 - Echo Tiller/Cultivator, S/N: E14013001001 - E14013999999
Engine Cover, Starter
Engine Cover, Starter TC-210 - Echo Tiller/Cultivator, S/N: E14013001001 - E14013999999
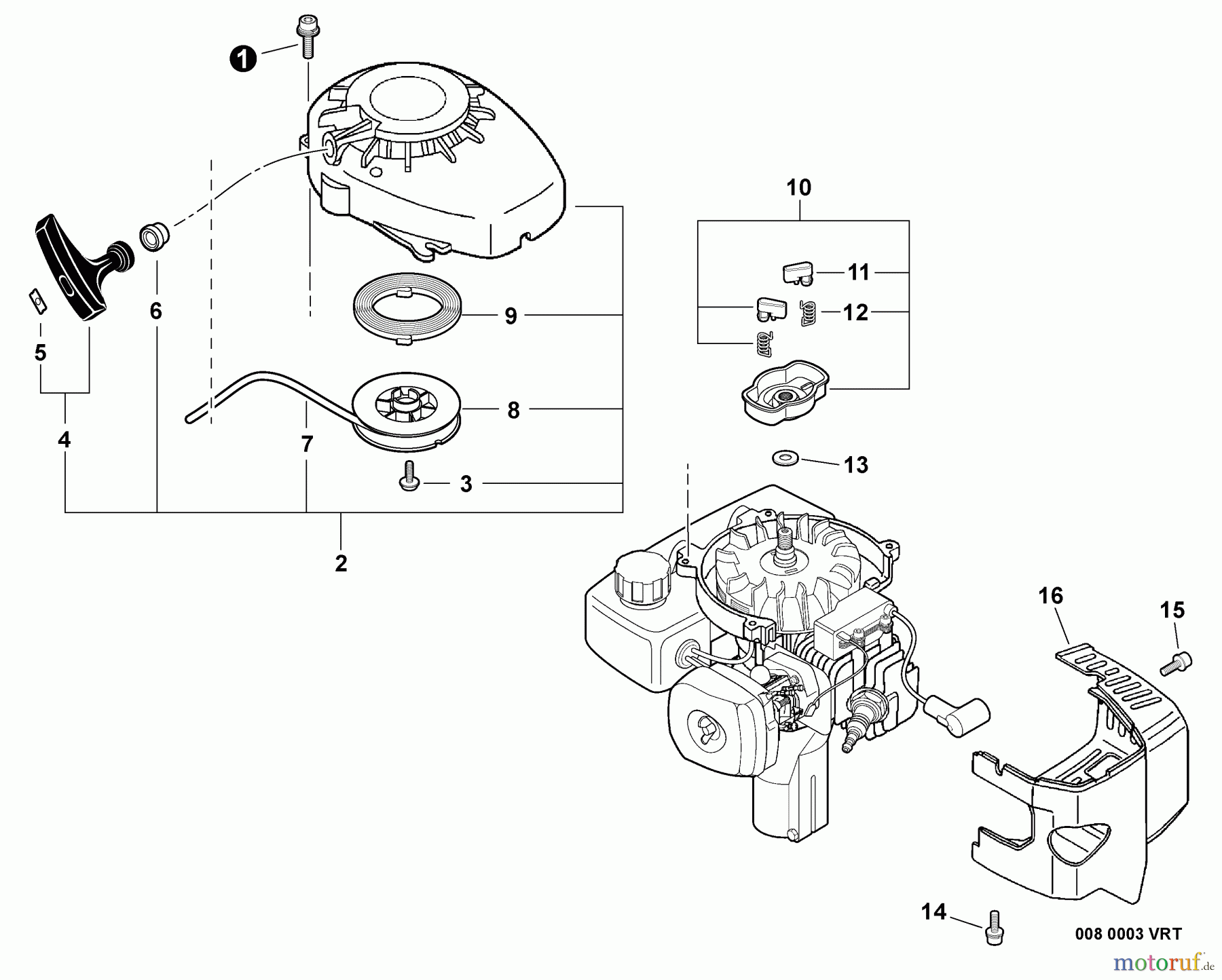
Pos
Article Number
Description
1
16-900238-04016
Schraube 4x16
2
1617720011861
3
16-177236-44330
Schraube CS-2600/ SRM-320/350/
4
16-177228-11120
Startergriff SRM-3805/4600,
5
16-177246-11120
Abdeckung, Starter Knopf CS-
6
16-177227-42030
Seilführung ES-2100/2400/HC-
7
16-177226-05530
Starterseil
8
16-177215-44430
Seilscheibe SRM-2305/ES-2100/
9
16-177220-42030
Starterfeder ES-2100/2400/HC-
10
16-177202-12220
Starterklinke GT-2400, HC-1500
11
16-177218-44330
Starterklinke SRM-2450/PB-
12
16-177234-12220
Feder, Starterklinke RM-4000/
13
16-900605-00008
Scheibe
14
16-900238-04018
Schraube
15
16-91107-04008
Schraube HCR-1510
16
16A160001120
Report Error
Help us to improve this site. Notify us if something is wrong here.