.com
Shopping Basket
empty
Your Account
Log in
Register
Home
Contact
About
Guestbook
Shipping Costs
Terms and Privacy
SPAREPARTS
Search by Part Number
Diagrams & Parts Lists
Gardening & Forestry
Industry & Shop
Chainsaw Chains
Guide Bars
Sprocket Rims
CATALOG
Mowing, trimming
Engine parts
Workshop
Components
Forestry
Electrical items
Winter items
V-belts / Pulleys
Filters
Toys
Agricultural Parts
Topseller
SERVICE
We search for You
Determine Chain
DE
EN
FR
ES
IT
Mobile
Echo GT-1100 - String Trimmer, S/N:001001 - 077000 Fuel System Spareparts
Start
Echo
Trimmer, Faden / Bürste
GT-1100 - Echo String Trimmer, S/N:001001 - 077000
Fuel System
Fuel System GT-1100 - Echo String Trimmer, S/N:001001 - 077000
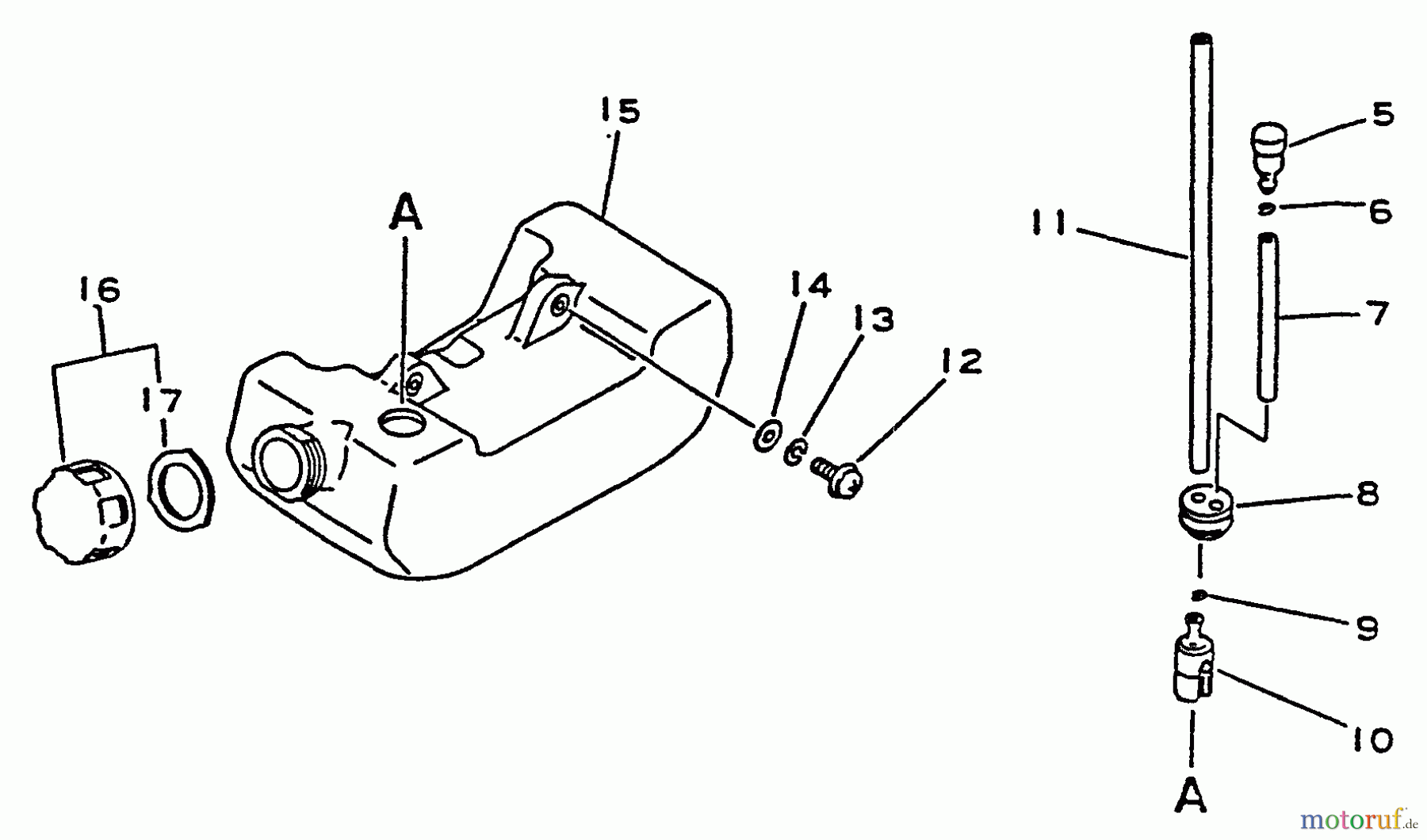
Pos
Article Number
Description
5
16-131300-56430
Entlüftungsventil CS-3500-1/
6
16-130111-00530
Klipp (10) CS-6702, SRM-2010
7
16-V471-001200
Leitung(Gummi) CS-3000, CS-
8
16-132115-44330
Dichtring CS-2600, CS-3700ES
9
16-132013-09820
Clip CS-2600/-3700/SRM-250/GT-
10
16-131205-07321
Benzinfilter CS-3500/2600,SRM-
11
16-V471-001190
Benzinleitung (Gummi) SRM-
12
16-900220-05010
Schraube
13
16-900605-00005
Scheibe PB-250/EC-7600
14
16-900603-00005
Scheibe(Eisen) CS-2600/PB-250/
15
16-131005-44331
Tank
16
16-131004-41030
Tankdeckel kpl.(Kunstst.)
17
16-131016-40930
Dichtung ES-2000, HC-2100,
Report Error
Help us to improve this site. Notify us if something is wrong here.