.com
Shopping Basket
empty
Your Account
Log in
Register
Home
Contact
About
Guestbook
Shipping Costs
Terms and Privacy
SPAREPARTS
Search by Part Number
Diagrams & Parts Lists
Gardening & Forestry
Industry & Shop
Chainsaw Chains
Guide Bars
Sprocket Rims
CATALOG
Mowing, trimming
Engine parts
Workshop
Components
Forestry
Electrical items
Winter items
V-belts / Pulleys
Filters
Toys
Agricultural Parts
Topseller
SERVICE
We search for You
Determine Chain
DE
EN
FR
ES
IT
Mobile
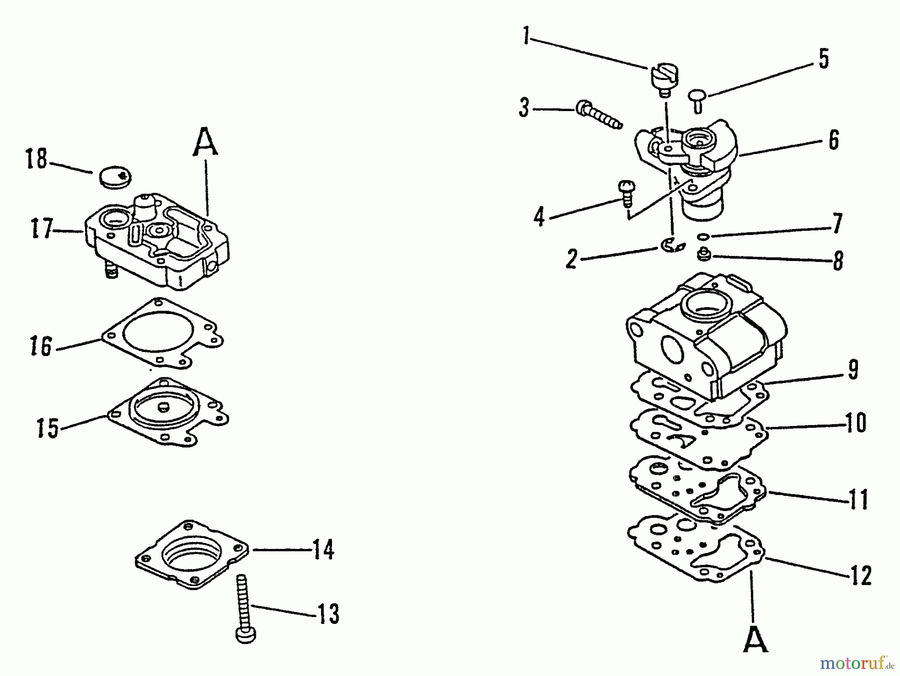
Echo GT-1100 - String Trimmer, S/N:098001 - 126000 Carburetor Spareparts
Start
Echo
Trimmer, Faden / Bürste
GT-1100 - Echo String Trimmer, S/N:098001 - 126000
Carburetor
Carburetor GT-1100 - Echo String Trimmer, S/N:098001 - 126000
Pos
Article Number
Description
1699999999999
1
16-123172-45130
Führung, Gaszug DH2200ST/EA-
2
16-123173-07930
Clip DH2200ST/EA-410/PPT-300ES
3
16-123134-40030
Schraube EA-410
4
16-123114-44330
Schraube DH2200ST
5
16-123146-44330
Stift
6
1612311645130
7
16
16
8
16
16
9
16
16
10
16
16
11
16-123160-40630
Platte
12
16
16
13
16-123144-44330
Schraube EA-410
14
16-123142-03930
Deckel CS-2600/3700/SRM-320/
15
16
16
16
16
16
17
16
16
18
16
16
1612310044430
1612310144430
Report Error
Help us to improve this site. Notify us if something is wrong here.