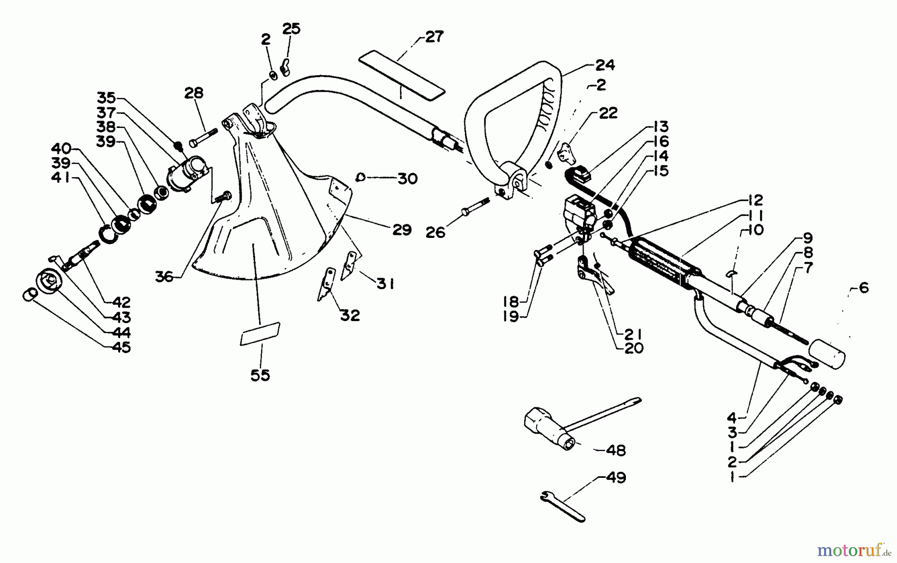
Echo GT-200CE - String Trimmer Driveshaft, Handles, Throttle, Stop Switch, Shield, Gear Case, Tools Spareparts
Driveshaft, Handles, Throttle, Stop Switch, Shield, Gear Case, Tools GT-200CE - Echo String Trimmer



Report Error
Help us to improve this site. Notify us if something is wrong here.

