.com
Shopping Basket
empty
Your Account
Log in
Register
Home
Contact
About
Guestbook
Shipping Costs
Terms and Privacy
SPAREPARTS
Search by Part Number
Diagrams & Parts Lists
Gardening & Forestry
Industry & Shop
Chainsaw Chains
Guide Bars
Sprocket Rims
CATALOG
Mowing, trimming
Engine parts
Workshop
Components
Forestry
Electrical items
Winter items
V-belts / Pulleys
Filters
Toys
Agricultural Parts
Topseller
SERVICE
We search for You
Determine Chain
DE
EN
FR
ES
IT
Mobile
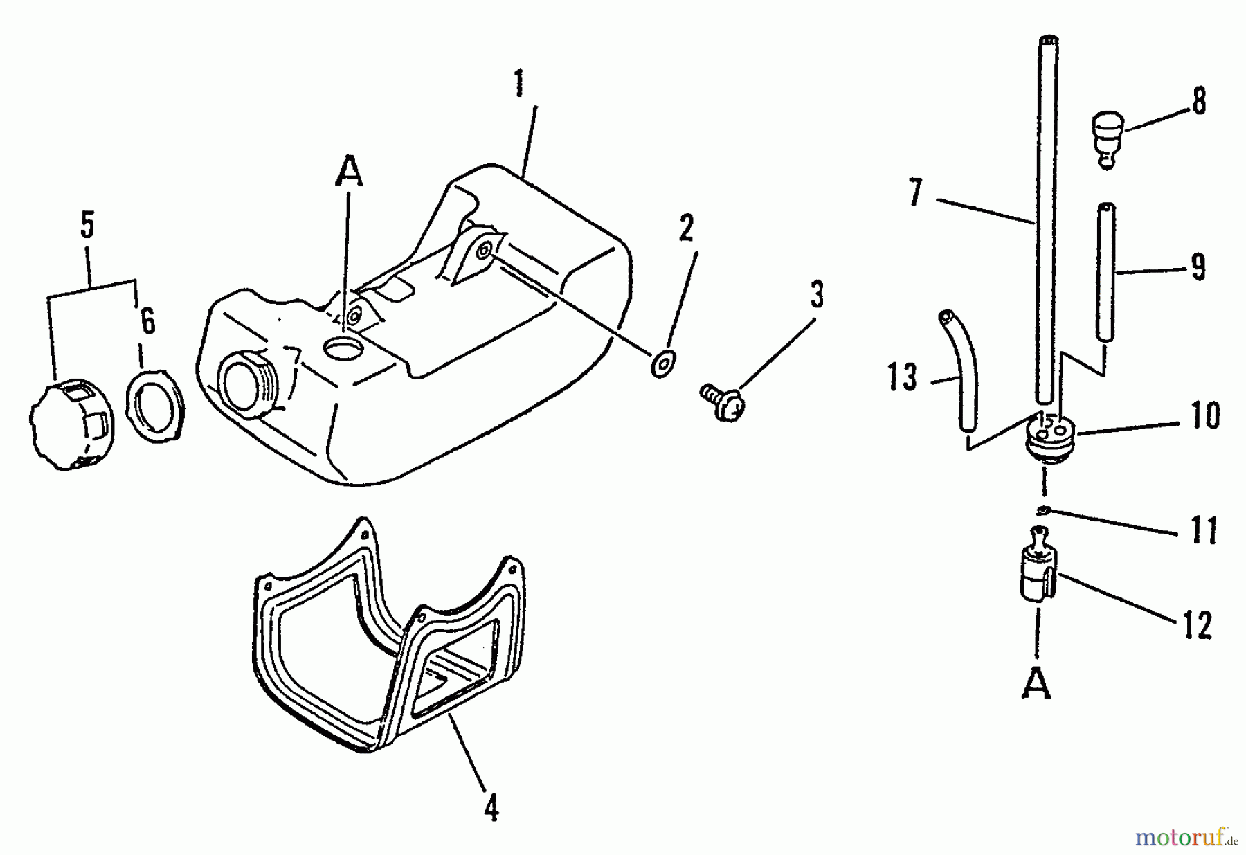
Echo GT-2103 - String Trimmer, S/N:031001 - 999999 Fuel System Spareparts
Start
Echo
Trimmer, Faden / Bürste
GT-2103 - Echo String Trimmer, S/N:031001 - 999999
Fuel System
Fuel System GT-2103 - Echo String Trimmer, S/N:031001 - 999999
Pos
Article Number
Description
1
16-131005-44330
Tank
2
16-900603-00005
Scheibe(Eisen) CS-2600/PB-250/
3
16-900220-05016
Schraube 5x16 (10), GT-2010
4
16-305110-42030
Abstellbock PP-600, HCA-2500,
5
16-131004-55830
Tankdeckel HC-1500, HC-2400,
6
16-131016-40930
Dichtung ES-2000, HC-2100,
7
16-V471-001190
Benzinleitung (Gummi) SRM-
8
16-131300-56430
Entlüftungsventil CS-3500-1/
9
16-V471-001200
Leitung(Gummi) CS-3000, CS-
10
16-132115-46730
Dichtring HC-1500/HCR-1500/
11
16-132013-09820
Clip CS-2600/-3700/SRM-250/GT-
12
16-131205-07321
Benzinfilter CS-3500/2600,SRM-
13
16-132012-56030
Benzinleitung EDR-2400/PPT-
Report Error
Help us to improve this site. Notify us if something is wrong here.