.com
Shopping Basket
empty
Your Account
Log in
Register
Home
Contact
About
Guestbook
Shipping Costs
Terms and Privacy
SPAREPARTS
Search by Part Number
Diagrams & Parts Lists
Gardening & Forestry
Industry & Shop
Chainsaw Chains
Guide Bars
Sprocket Rims
CATALOG
Mowing, trimming
Engine parts
Workshop
Components
Forestry
Electrical items
Winter items
V-belts / Pulleys
Filters
Toys
Agricultural Parts
Topseller
SERVICE
We search for You
Determine Chain
DE
EN
FR
ES
IT
Mobile
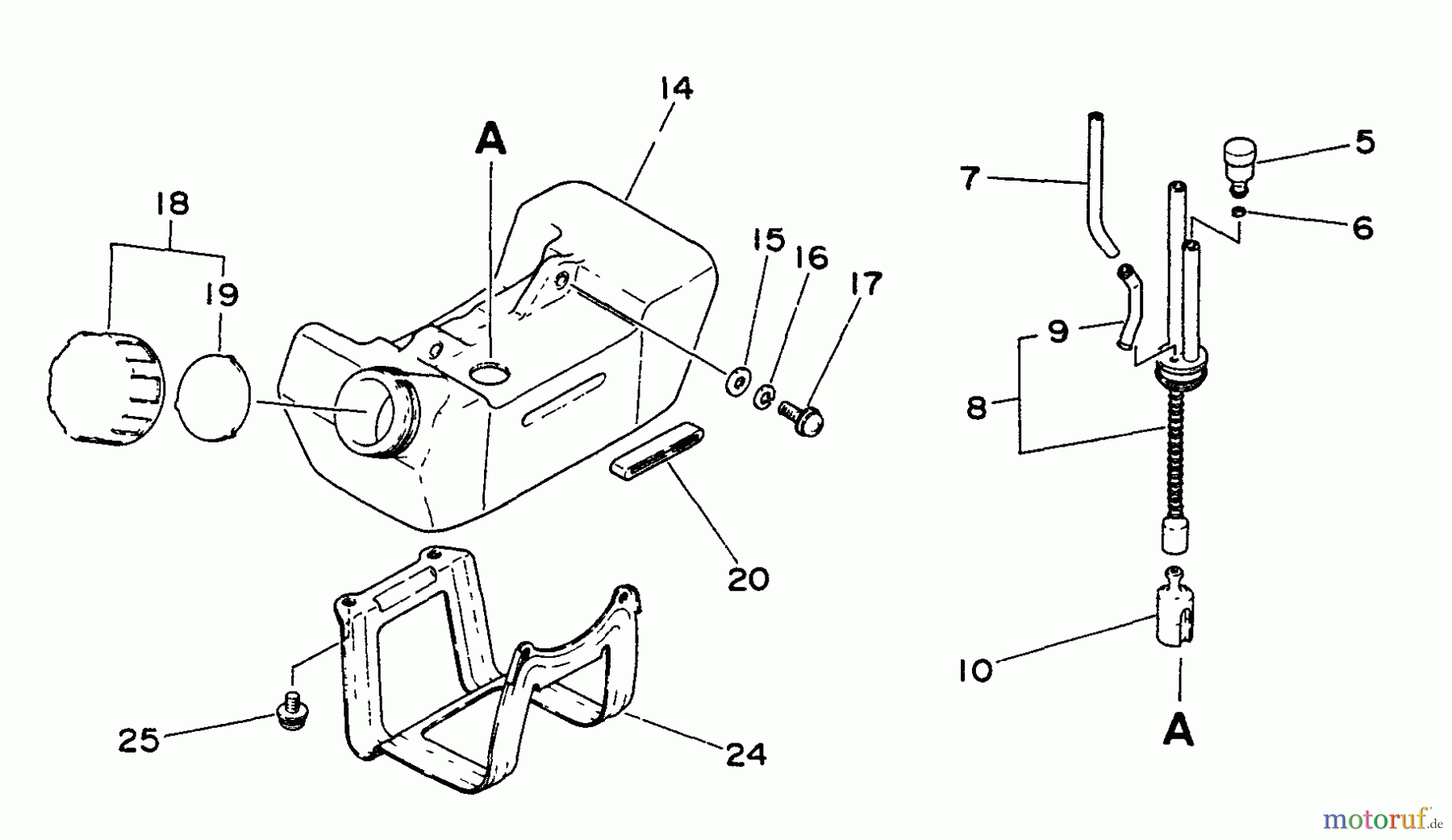
Echo SRM-2000 - String Trimmer Fuel System Spareparts
Start
Echo
Trimmer, Faden / Bürste
SRM-2000 - Echo String Trimmer
Fuel System
Fuel System SRM-2000 - Echo String Trimmer
Pos
Article Number
Description
5
16-131300-56430
Entlüftungsventil CS-3500-1/
6
16-130111-00530
Klipp (10) CS-6702, SRM-2010
7
16-132010-40830
Benzinleitung(Gummi)3x6x75
8
1613200240630
9
16-132021-40630
Leitung(Gummi)
10
16-131205-07321
Benzinfilter CS-3500/2600,SRM-
14
1699999999999
15
16-900603-00005
Scheibe(Eisen) CS-2600/PB-250/
16
16-900605-00005
Scheibe PB-250/EC-7600
17
16-900220-05016
Schraube 5x16 (10), GT-2010
18
16-131004-40930
Tankdeckel kpl.(Kunstst.)
19
16-131016-40630
Dichtung
20
1613192040630
24
1630511040630
25
16-900238-05010
Schraube M5x10
Report Error
Help us to improve this site. Notify us if something is wrong here.