.com
Home
Contact
About
Guestbook
Shipping Costs
Terms and Privacy
SPAREPARTS
Search by Part Number
Diagrams & Parts Lists
Gardening & Forestry
Industry & Shop
Chainsaw Chains
Guide Bars
Sprocket Rims
CATALOG
Mowing, trimming
Engine parts
Workshop
Components
Forestry
Electrical items
Winter items
V-belts / Pulleys
Filters
Toys
Agricultural Parts
Topseller
SERVICE
We search for You
Determine Chain
Your Account
Log in
Register
Settings
DE
EN
FR
ES
IT
PC Version
Echo SRM-3001 - String Trimmer, S/N: 021091 - 027000 Fuel System Spareparts
Start
Echo
Trimmer, Faden / Bürste
SRM-3001 - Echo String Trimmer, S/N: 021091 - 027000
Fuel System
Fuel System SRM-3001 - Echo String Trimmer, S/N: 021091 - 027000
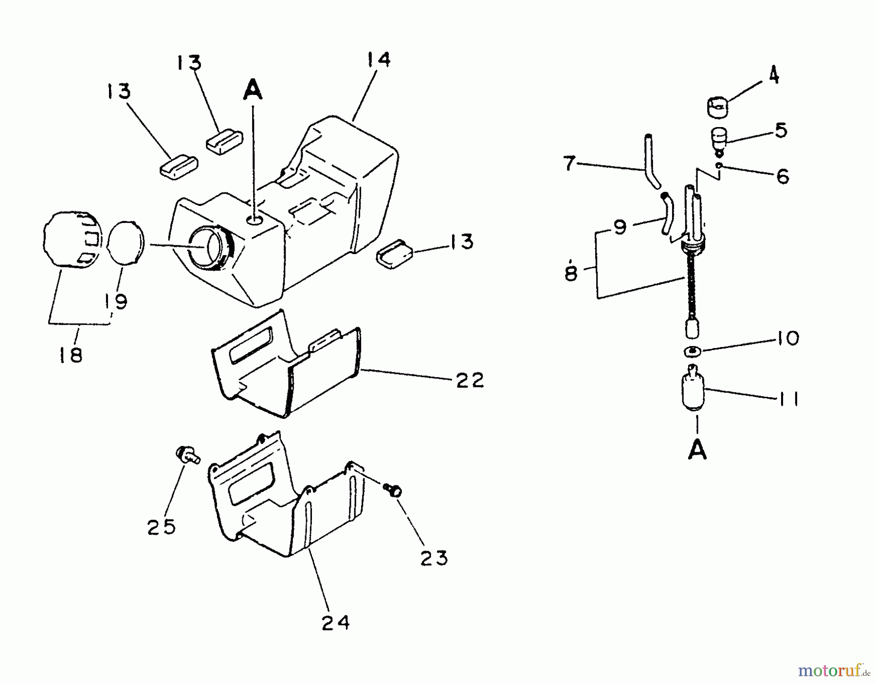
Pos
Article Number
Description
5
16-131300-56430
Entlüftungsventil CS-3500-1/
6
16-130111-00530
Klipp (10) CS-6702, SRM-2010
7
16-132010-49030
Benzinleitung 3x6x50
8
16-132002-40930
Leitung RMA-2530, SRA-2530
9
16-132021-40630
Leitung(Gummi)
10
16-900603-00005
Scheibe(Eisen) CS-2600/PB-250/
11
16-131200-02830
Kraftstoff-Filter PB-400E CS-
13
16-131924-05530
Gummilager SRM-310E
14
1699999999999
18
16-131004-41030
Tankdeckel kpl.(Kunstst.)
19
16-131016-40930
Dichtung ES-2000, HC-2100,
22
1613192441030
23
16-900238-04010
Schraube M4 x 10 ES-2400,PB-
24
1613191041030
25
16-900238-05012
Schraube 5x12, CS-3501
4
16-131328-40630
Entlüftungsventilsitz CS-3700,
Report Error
Help us to improve this site. Notify us if something is wrong here.