.com
Shopping Basket
empty
Your Account
Log in
Register
Home
Contact
About
Guestbook
Shipping Costs
Terms and Privacy
SPAREPARTS
Search by Part Number
Diagrams & Parts Lists
Gardening & Forestry
Industry & Shop
Chainsaw Chains
Guide Bars
Sprocket Rims
CATALOG
Mowing, trimming
Engine parts
Workshop
Components
Forestry
Electrical items
Winter items
V-belts / Pulleys
Filters
Toys
Agricultural Parts
Topseller
SERVICE
We search for You
Determine Chain
DE
EN
FR
ES
IT
Mobile
Jonsered CS2152 - Chainsaw (2007-08) CYLINDER PISTON Spareparts
Start
Jonsered
Motorsägen
CS2152 - Jonsered Chainsaw (2007-08)
CYLINDER PISTON
CYLINDER PISTON CS2152 - Jonsered Chainsaw (2007-08)
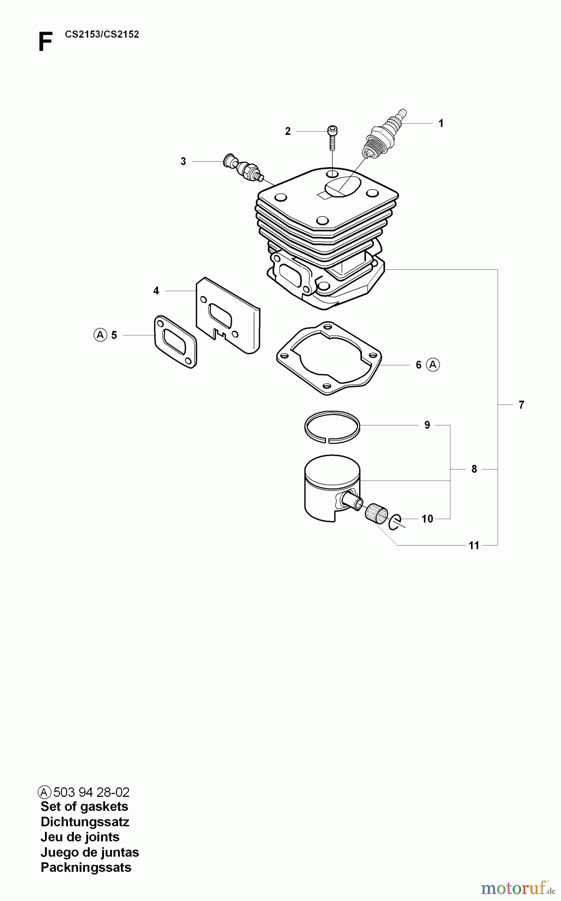
Pos
Article Number
Description
1
503235111
2
725 53 33-55
SCHRAUBE
3
544 20 00-01
DEKOMPRESSION VENTIL 55D
4
503 97 13-01
AUSPUFFDICHTUNG
5
503 86 25-01
DICHTUNG
6
503 89 44-01
DICHTUNG
7
537 25 31-04
ZYLINDER KPL
8
537 22 36-04
KOLBEN KPL.
9
544 43 50-01
KOLBENRING
10
737 44 10-00
Sicherungsring
11
503 25 63-01
NADELLAGER
A
503 94 28-02
DICHTUNGSSATZ
Report Error
Help us to improve this site. Notify us if something is wrong here.