.com
Shopping Basket
empty
Your Account
Log in
Register
Home
Contact
About
Guestbook
Shipping Costs
Terms and Privacy
SPAREPARTS
Search by Part Number
Diagrams & Parts Lists
Gardening & Forestry
Industry & Shop
Chainsaw Chains
Guide Bars
Sprocket Rims
CATALOG
Mowing, trimming
Engine parts
Workshop
Components
Forestry
Electrical items
Winter items
V-belts / Pulleys
Filters
Toys
Agricultural Parts
Topseller
SERVICE
We search for You
Determine Chain
DE
EN
FR
ES
IT
Mobile
Snapper RZT27460 (7800578) - 46" Zero-Turn Mower, 27 HP, Twin Stick, RZT 285Z Series Front Axle Group, RZT 27460 Spareparts
Start
Snapper
Nullwendekreismäher, Zero-Turn
RZT27460 (7800578) - Snapper 46" Zero-Turn Mower, 27 HP, Twin Stick, R
Front Axle Group, RZT 27460
Front Axle Group, RZT 27460 RZT27460 (7800578) - Snapper 46" Zero-Turn Mower, 27 HP, Twin Stick, RZT 285Z Series
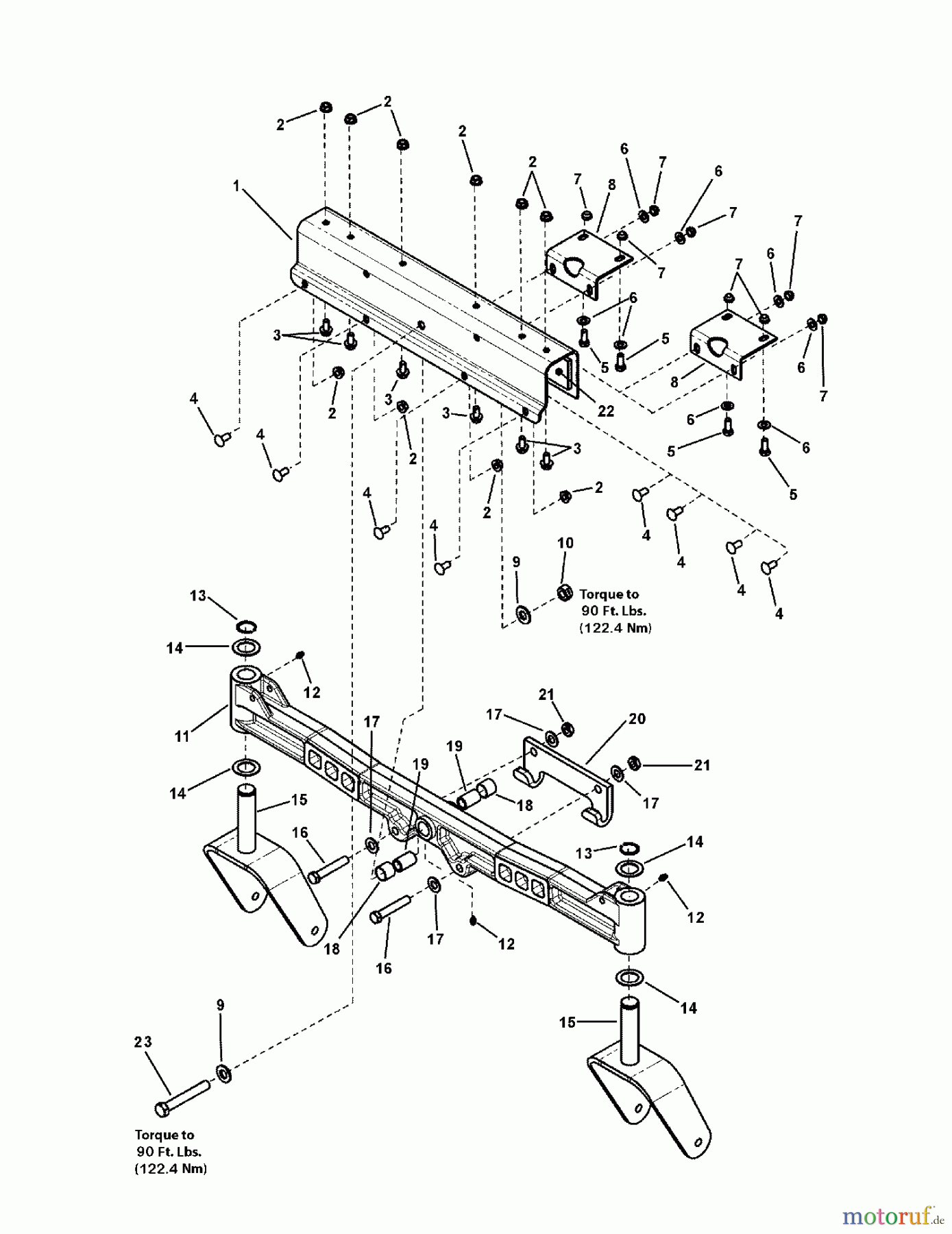
Pos
Article Number
Description
1
BS7078126DYP
BRKT, AXLE
2
BS703409
MUTTER, 5/16-18, GR5
3
BS7091811SM
HFLB, 5/16C X5/8 GR5
4
BS703185
RHSSNB
5
BS7091318
6
BS703350
U-SCHEIBE, 5/16
7
BS7091706SM
HTLN, 5/16C
8
BS7300004BMYP
HALTER, ACHSAUFNAHME
9
BS7091587SM
UNTERLAGSCHEIBE, .531X1.062X.1
10
BS703894
NUT, CNTR LCK, 1/2-13
11
BS7078124DYP
AXLE, CAST, FRONT
12
BS7013864SM
LUBE FITTING, 3/16 PR
13
BS7012709YP
RETAINING RING, 1" OD
14
BS7013855SM
(S) WASHER, THRUST
15
BS7400191DYP
WELD, PIVOT YOKE, CAS
16
BS7091703SM
17
BS703183
WASHER, 7/16 ID X.065
18
BS7012706SM
BEARING, SLEEVE, .875
19
BS7011309SM
20
BS1721918ASM
HAKEN-J SCHWARZ
21
BS703348
MUTTER,7/16-20
22
BS7103773YP
PLATE, FRICTION
23
BS7091558SM
HHCS, 1/2C X3-1/2 YZ
Report Error
Help us to improve this site. Notify us if something is wrong here.