.com
Shopping Basket
empty
Your Account
Log in
Register
Home
Contact
About
Guestbook
Shipping Costs
Terms and Privacy
SPAREPARTS
Search by Part Number
Diagrams & Parts Lists
Gardening & Forestry
Industry & Shop
Chainsaw Chains
Guide Bars
Sprocket Rims
CATALOG
Mowing, trimming
Engine parts
Workshop
Components
Forestry
Electrical items
Winter items
V-belts / Pulleys
Filters
Toys
Agricultural Parts
Topseller
SERVICE
We search for You
Determine Chain
DE
EN
FR
ES
IT
Mobile
Snapper ZF2501KH (84574) - 25 HP Zero-Turn Mower, Out Front, Z-Rider Series 1 Cutter Housing Assembly Spareparts
Start
Snapper
Nullwendekreismäher, Zero-Turn
ZF2501KH (84574) - Snapper 25 HP Zero-Turn Mower, Out Front, Z-Rider S
Cutter Housing Assembly
Cutter Housing Assembly ZF2501KH (84574) - Snapper 25 HP Zero-Turn Mower, Out Front, Z-Rider Series 1
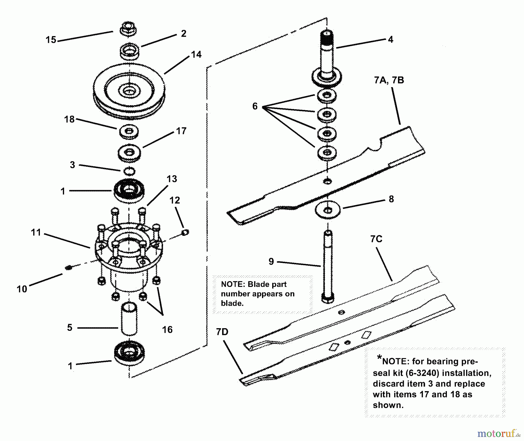
Pos
Article Number
Description
1
BS7029422YP
BEARING, BALL
2
BS7029270YP
WASHER, SPINDLE, YEL
3
BS7029274YP
RETAINING RING
4
BS7059311YP
SPINDLE SHAFT ASMY
5
BS7029254YP
(C) SPACER, 1.25 OD X
6
BS7029271YP
(C) SPACER, 1.50 OD X
7A
BS7029251BZYP
BLADE, 21
7B
BS7073395YP
BLADE, LOW LIFT, 18
7C
BS7073396YP
(C) BLADE,LOW LIFT 2
7D
BS7046625BMYP
BLADE, 25 ECOAT
8
BS7016440SM
SCHEIBE 656X1.875X.086
9
BS7063234YP
HB, 5/8C X7-1/2 GR5
10
BS703153
ZERK,GREASE FITTING
11
BS7058237YP
SPINDLE ASMY
12
BS7029384YP
SPINDLE, GREASE VENT
13
BS7029302YP
(C) BOLT, RIBBED
14
BS7029249YP
PULLEY, DRIVEN, 52
15
BS7063237YP
HFLN, 5/8C GR5 YZ
16
BS703117
MUTTER
17
BS7063238YP
SEAL, BEARING
18
BS7013370YP
BUCHSE
BS7054017
Report Error
Help us to improve this site. Notify us if something is wrong here.