.com
Shopping Basket
empty
Your Account
Log in
Register
Home
Contact
About
Guestbook
Shipping Costs
Terms and Privacy
SPAREPARTS
Search by Part Number
Diagrams & Parts Lists
Gardening & Forestry
Industry & Shop
Chainsaw Chains
Guide Bars
Sprocket Rims
CATALOG
Mowing, trimming
Engine parts
Workshop
Components
Forestry
Electrical items
Winter items
V-belts / Pulleys
Filters
Toys
Agricultural Parts
Topseller
SERVICE
We search for You
Determine Chain
DE
EN
FR
ES
IT
Mobile
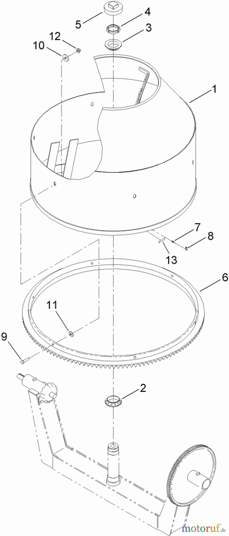
Concrete & Masonry Equipment DRUM ASSEMBLY Spareparts
Start
Concrete & Masonry Equipment
68011C (CM-1258Y-SD) - Toro Concrete Mixer (SN: 313000001 - 313999999)
DRUM ASSEMBLY
DRUM ASSEMBLY 68011C (CM-1258Y-SD) - Toro Concrete Mixer (SN: 313000001 - 313999999) (2013)
Pos
Article Number
Description
1
TR125-8687-01
2
TRST32283
3
TRST32282
4
TRST32285
5
TRST32287
6
TRST39078-01
7
TRST46057
8
TRST47001
9
TR325-8
Schraube
10
TRST26326
11
TR3256-6
Scheibe
12
TR99-5107
NUT-LOCK
13
TR125-8175
Report Error
Help us to improve this site. Notify us if something is wrong here.