.com
Shopping Basket
empty
Your Account
Log in
Register
Home
Contact
About
Guestbook
Shipping Costs
Terms and Privacy
SPAREPARTS
Search by Part Number
Diagrams & Parts Lists
Gardening & Forestry
Industry & Shop
Chainsaw Chains
Guide Bars
Sprocket Rims
CATALOG
Mowing, trimming
Engine parts
Workshop
Components
Forestry
Electrical items
Winter items
V-belts / Pulleys
Filters
Toys
Agricultural Parts
Topseller
SERVICE
We search for You
Determine Chain
DE
EN
FR
ES
IT
Mobile
Rasenmäher Antrieb LUBRICATION EQUIPMENT Spareparts
Start
Rasenmäher Antrieb
30165 - Toro Mid-Size ProLine Traction Unit, Gear Drive, 12.5 hp (SN:
LUBRICATION EQUIPMENT
LUBRICATION EQUIPMENT 30165 - Toro Mid-Size ProLine Traction Unit, Gear Drive, 12.5 hp (SN: 200000001 - 200999999) (2000)
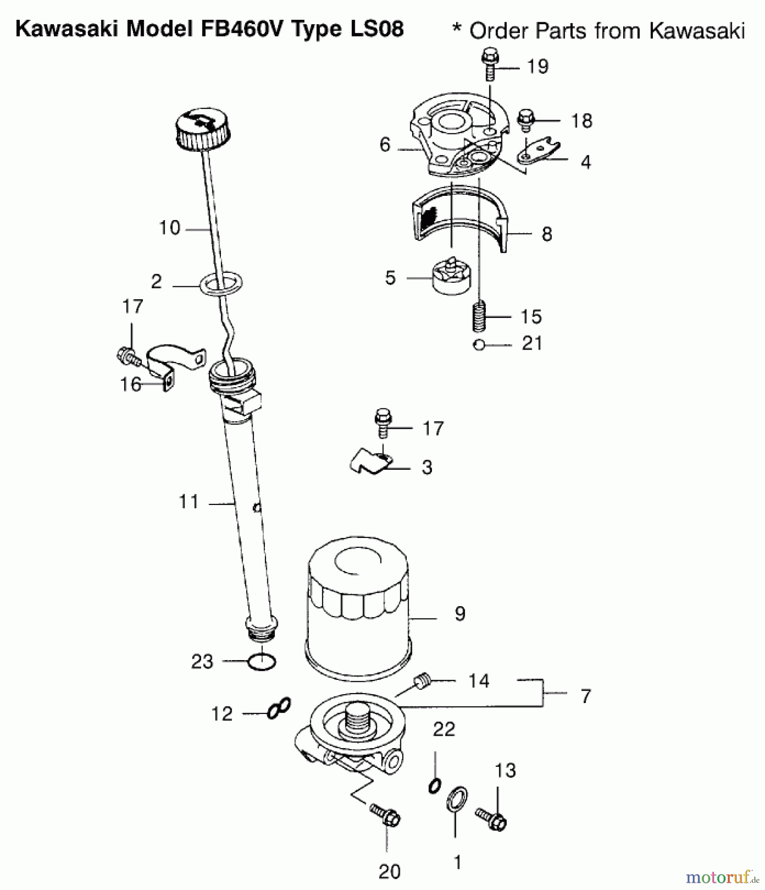
Pos
Article Number
Description
1
KA110092175
DICHTUNG
2
KA110092346
DICHTUNG OELSTAB
3
KA131692359
PLATTE 8X16
4
KA132702054
PLATE
5
KA160822057
OELPUMPE KPL.
6
KA161426001
DECKEL
7
KA230626001
HALTER
8
KA490652056
FILTER-OIL
9
KA490652071
FILTER-OIL
10
KA520052058
LEHRE
11
KA592312059
FILLER
12
KA920552063
RING-O
13
KA920662093
PLUG
14
KA920662211
PLUG
15
KA920812216
FEDER
16
KA9217020149H
CLAMP
17
KA130AA0508
BOLT-FLANGED
19
KA130BA0825
BOLT-FLANGED
20
KA130BA0845
BOLT-FLANGED
21
KA600A1000
BALL-STEEL,5/16'
22
KA670D1507
O-RING 7MM
23
KA670D2016
O-RING 16MM
Report Error
Help us to improve this site. Notify us if something is wrong here.