.com
Shopping Basket
empty
Your Account
Log in
Register
Home
Contact
About
Guestbook
Shipping Costs
Terms and Privacy
SPAREPARTS
Search by Part Number
Diagrams & Parts Lists
Gardening & Forestry
Industry & Shop
Chainsaw Chains
Guide Bars
Sprocket Rims
CATALOG
Mowing, trimming
Engine parts
Workshop
Components
Forestry
Electrical items
Winter items
V-belts / Pulleys
Filters
Toys
Agricultural Parts
Topseller
SERVICE
We search for You
Determine Chain
DE
EN
FR
ES
IT
Mobile
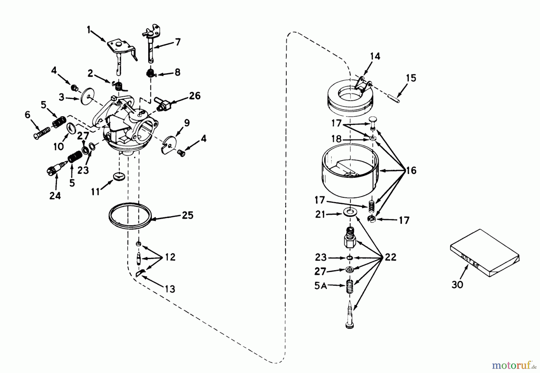
Toro 62853 - Shredder, 1974 (4000001-4999999) CARBURETOR ASSEMBLY NO. 631716 Spareparts
Start
Toro Neu
Blowers/Vacuums/Chippers/Shredders
62853 - Toro Shredder, 1974 (4000001-4999999)
CARBURETOR ASSEMBLY NO. 631716
CARBURETOR ASSEMBLY NO. 631716 62853 - Toro Shredder, 1974 (4000001-4999999)
Pos
Article Number
Description
1
TC631615
WELLE U, HEBEL
2
TC631767
FEDER
3
TC631036
SHUTTER
4
TC650506
SCHRAUBE
5
TC630766
SPRING
5A
TC630738
FEDER
6
TC651025
SCHRAUBE
7
TC630973
WELLE U, HEBEL
8
TC632045
FEDER
9
TC631582
DROSSELKLAPPE
10
TC630748
WELCH PLUG
11
TC631027
WELCH PLUG
12
TC631021B
INLET NEEDLE
13
TC631022
KLEMME
14
TC632019A
FLOAT
16
TC631951
FLOAT BOWL
17
TC27136A
OELABLASSCHRAUBE
18
TC27554
DICHTUNG
21
TC27110A
DICHTUNG
22
TC631583
POWER SCREW
23
TC630740
O-RING
24
TC631838
ADJ SCREW
25
TC631028A
DICHTUNG
26
TC631805
27
TC630739
WASHER
30
TC631839
REPARATURSATZ
Report Error
Help us to improve this site. Notify us if something is wrong here.