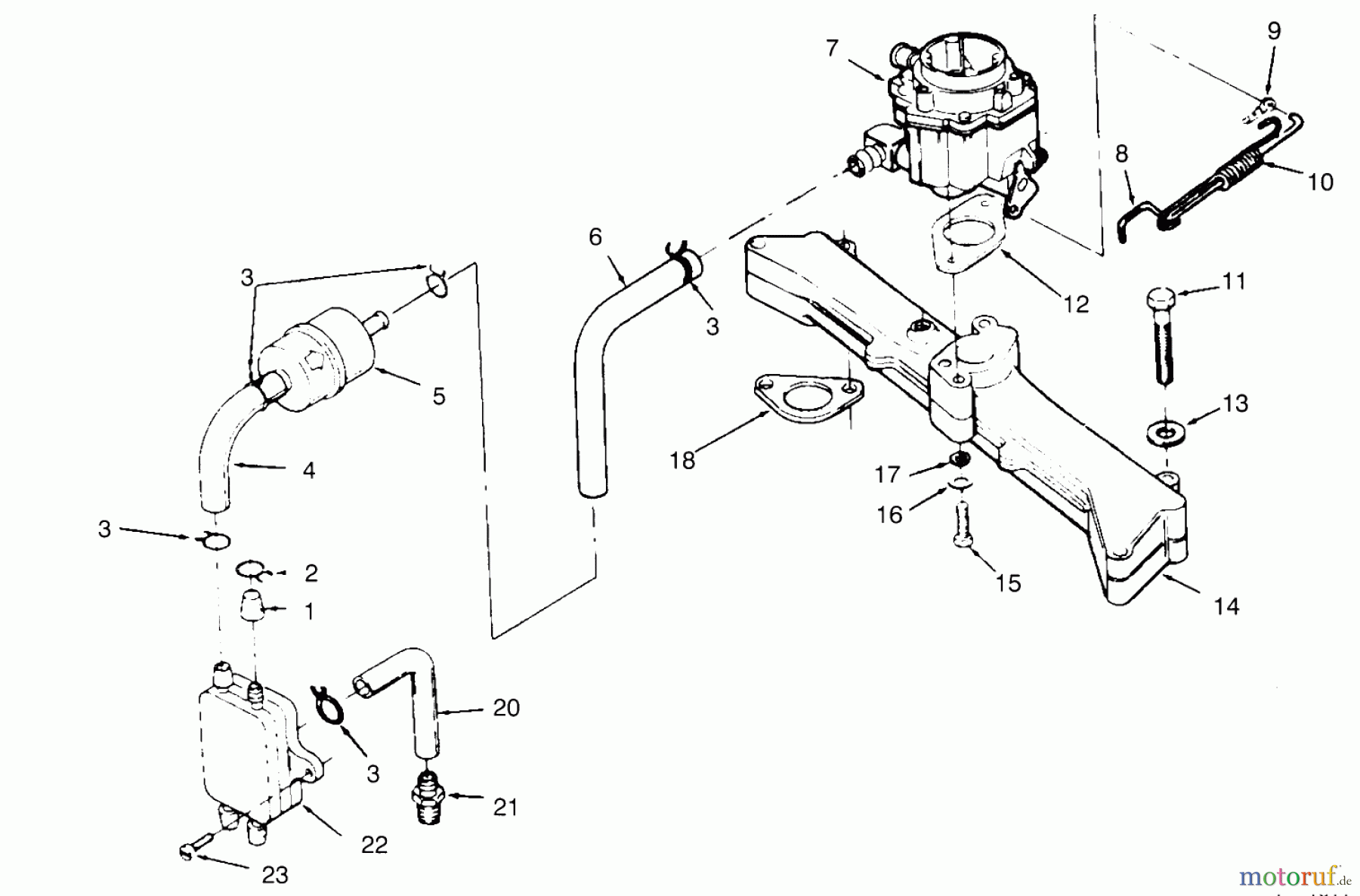
Toro 74140 (724-Z) - 724-Z Tractor, 1995 (590001-599999) CARBURETOR, INTAKE MANIFOLD & FUEL PUMP Spareparts
CARBURETOR, INTAKE MANIFOLD & FUEL PUMP 74140 (724-Z) - Toro 724-Z Tractor, 1995 (590001-599999)



Report Error
Help us to improve this site. Notify us if something is wrong here.

